

´ëǥû±¸Ç×
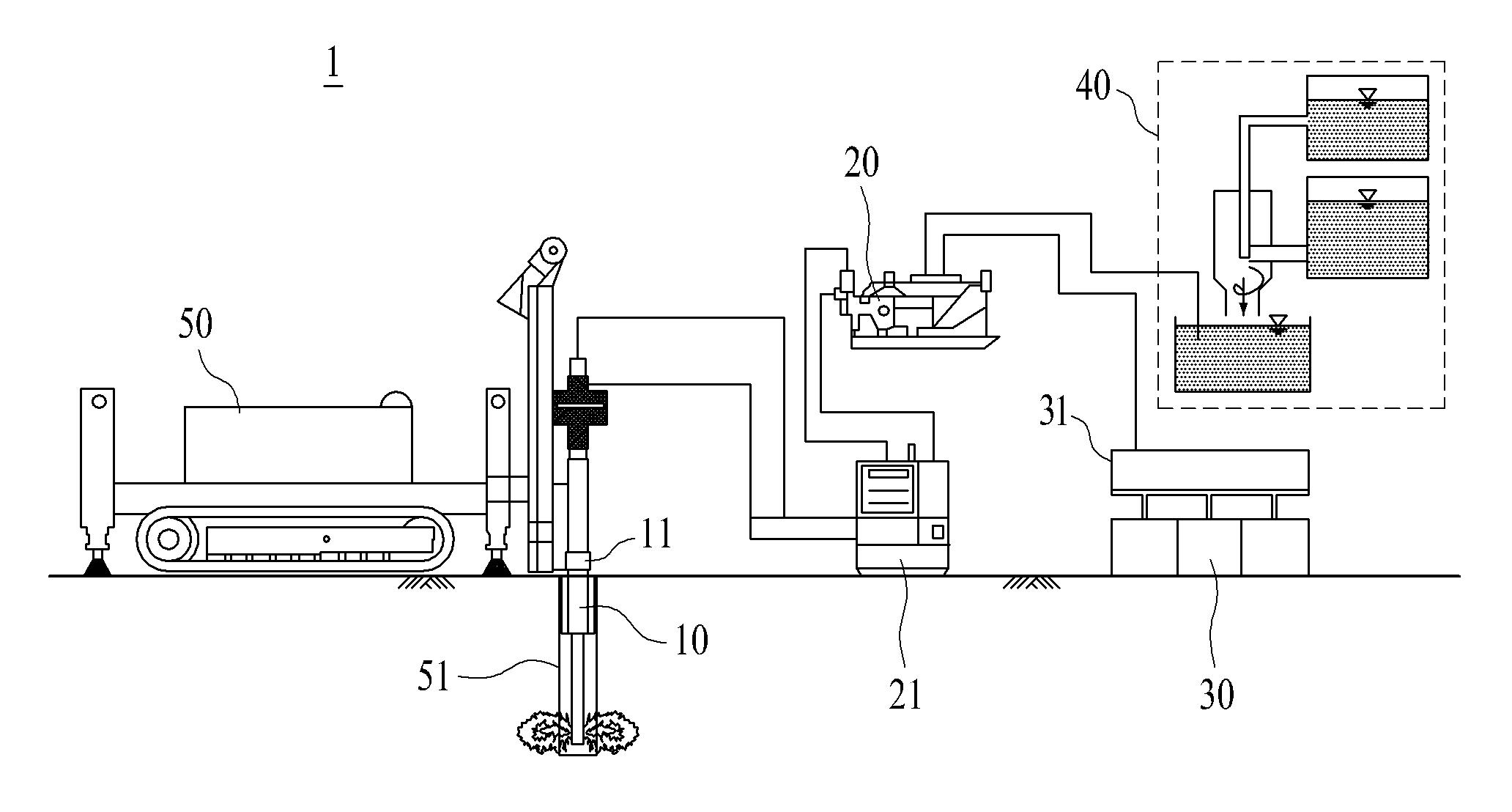
³»ºÎ¿¡ ±×¶ó¿ìÆÃÀç°¡ À¯µ¿ÇÏ´Â À¯·Î°¡ Çü¼ºµÇ¸ç, À¯¿¬¼ºÀ» °¡Áø °ü ÇüÅ·ΠÇü¼ºµÇ°í, Áö¹Ý ¶Ç´Â ±¸Á¶¹° µî¿¡ ¹Ì¸® Çü¼ºµÈ õ°øÈ¦¿¡ »ðÀÔµÇ¾î »ó±â ±×¶ó¿ìÆÃÀ縦 ÁÖÀÔÇÏ´Â ±×¶ó¿ìÆÃÀç ÁÖÀÔºÎ; ¹× »ó
±â ±×¶ó¿ìÆÃÀç ÁÖÀÔºÎÀÇ ¿ÜÃøÀ» °¨½Î´Â ¸µ ÇüÅ·ΠÇü¼ºµÇ°í, »ó±â ³»ºÎ À¯·Î¸¦ ÅëÇÏ¿© ÁÖÀԵǴ ±×¶ó¿ìÆÃÀç°¡ ¿øÈ°È÷ À¯µ¿ÇÏ¿© »ó±â
õ°øÈ¦ ³»ºÎ·Î ÁÖÀԵǵµ·Ï »ó±â ±×¶ó¿ìÆÃÀç ÁÖÀÔºÎÀÇ ¼ÒÁ¤ À§Ä¡·Î ½½¶óÀ̵ùµÇµµ·Ï ±¸ºñµÈ º¹¼ö °³ÀÇ Áøµ¿ºÎ; ¸¦ Æ÷ÇÔÇÏ¿© ±¸¼ºµÇ´Â ±×¶ó¿ìÆÃÀç ÁÖÀÔÀåÄ¡.
û±¸Ç×
û±¸Ç× 1Ç×
³»ºÎ¿¡ ±×¶ó¿ìÆÃÀç°¡ À¯µ¿ÇÏ´Â À¯·Î°¡ Çü¼ºµÇ¸ç, À¯¿¬¼ºÀ» °¡Áø °ü ÇüÅ·ΠÇü¼ºµÇ°í, Áö¹Ý ¶Ç´Â ±¸Á¶¹° µî¿¡ ¹Ì¸® Çü¼ºµÈ õ°øÈ¦¿¡ »ðÀÔµÇ¾î »ó±â ±×¶ó¿ìÆÃÀ縦 ÁÖÀÔÇÏ´Â ±×¶ó¿ìÆÃÀç ÁÖÀÔºÎ; ¹× »ó
±â ±×¶ó¿ìÆÃÀç ÁÖÀÔºÎÀÇ ¿ÜÃøÀ» °¨½Î´Â ¸µ ÇüÅ·ΠÇü¼ºµÇ°í, »ó±â ³»ºÎ À¯·Î¸¦ ÅëÇÏ¿© ÁÖÀԵǴ ±×¶ó¿ìÆÃÀç°¡ ¿øÈ°È÷ À¯µ¿ÇÏ¿© »ó±â
õ°øÈ¦ ³»ºÎ·Î ÁÖÀԵǵµ·Ï »ó±â ±×¶ó¿ìÆÃÀç ÁÖÀÔºÎÀÇ ¼ÒÁ¤ À§Ä¡·Î ½½¶óÀ̵ùµÇµµ·Ï ±¸ºñµÈ º¹¼ö °³ÀÇ Áøµ¿ºÎ; ¸¦ Æ÷ÇÔÇÏ¿© ±¸¼ºµÇ´Â ±×¶ó¿ìÆÃÀç ÁÖÀÔÀåÄ¡.
û±¸Ç× 2Ç×
»èÁ¦
û±¸Ç× 3Ç×
»èÁ¦
û±¸Ç× 4Ç×
Á¦1Ç׿¡ ÀÖ¾î¼, »ó±â Áøµ¿ºÎ´Â, Àû¾îµµ ÇÑ °³ ÀÌ»óÀÇ ÇÇ¿¡Á¶¼ÒÀÚ¸¦ Æ÷ÇÔÇÏ´Â °ÍÀ» Ư¡À¸·Î ÇÏ´Â ±×¶ó¿ìÆÃÀç ÁÖÀÔÀåÄ¡.
û±¸Ç× 5Ç×
»èÁ¦
û±¸Ç× 6Ç×
»èÁ¦
û±¸Ç× 7Ç×
»èÁ¦
û±¸Ç× 8Ç×
»èÁ¦
û±¸Ç× 9Ç×
Á¦1Ç׿¡ ÀÖ¾î¼, »ó±â Áøµ¿ºÎ´Â, »ó±â ±×¶ó¿ìÆÃÀç ÁÖÀԺΰ¡ Àý°îµÇ´Â À§Ä¡¿¡ ±¸ºñµÇ´Â °ÍÀ» Ư¡À¸·Î ÇÏ´Â ±×¶ó¿ìÆÃÀç ÁÖÀÔÀåÄ¡.
û±¸Ç× 10Ç×
»èÁ¦
¿ä¾à
º» ¹ß¸íÀº Áö¹Ý °È¸¦ À§ÇÑ ±×¶ó¿ìÆÃ ÁÖÀÔ °ø¹ý¿¡ ÀÖ¾î¼, ±×¶ó¿ìÆÃÀçÀÇ ÁÖÀÔÀÌ ¿øÈ°ÇÏ°Ô ÀÌ·ç¾îÁú ¼ö
ÀÖµµ·Ï ÇÏ´Â ÁÖÀÔÀåÄ¡¸¦ Á¦°øÇϰíÀÚ ÇÑ °ÍÀÌ´Ù. À̸¦ À§ÇØ, º» ¹ß¸íÀº ³»ºÎ¿¡ ±×¶ó¿ìÆÃÀç°¡ À¯µ¿ÇÏ´Â À¯·Î°¡ Çü¼ºµÇ¸ç, Áö¹Ý ¶Ç´Â
±¸Á¶¹° µî¿¡ ¹Ì¸® Çü¼ºµÈ õ°øÈ¦¿¡ »ðÀÔµÇ¾î »ó±â ±×¶ó¿ìÆÃÀ縦 ÁÖÀÔÇÏ´Â ±×¶ó¿ìÆÃÀç ÁÖÀԺΠ¹× »ó±â ³»ºÎ À¯·Î¸¦ ÅëÇÏ¿© ÁÖÀԵǴÂ
±×¶ó¿ìÆÃÀç°¡ º¸´Ù ¿øÈ°È÷ À¯µ¿ÇÏ¿© »ó±â õ°øÈ¦ ³»ºÎ·Î ÁÖÀԵǵµ·Ï »ó±â ±×¶ó¿ìÆÃÀç ÁÖÀԺο¡ ¼ÒÁ¤ À§Ä¡¸¶´Ù ±¸ºñµÇ´Â Áøµ¿ºÎ¸¦
Á¦°øÇÑ´Ù.
|