ȸ»ç¼Ò°³
Company
Àλ縻
¿¬Çõ
Á¶Á÷µµ
»ç¾÷ºÐ¾ß
ƯÇã ¹× ÀÎÁõ
ÀÚ°Ý ¹× ¸éÇã
º¸À¯ÀåºñÇöȲ
¿À½Ã´Â±æ
º¸À¯°ø¹ý¼Ò°³
Introduce
ģȯ°æ ºñÅ»¸éº¸° °ø¹ý
ģȯ°æ ÅͳΠ°³·® °ø¹ý
ģȯ°æ Áö¹Ýº¸° ¹× °³·® °ø¹ý
¼³°è/ÄÁ¼³ÆÃ
Consulting
ºñÅ»¸é ¾ÈÁ¤¼º °ËÅä
ÅͳΠ¾ÈÁ¤¼º °ËÅä
±âÃÊ ¹× Áö¹Ý ¾ÈÁ¤¼º °ËÅä
°¡½Ã¼³(È븷ÀÌ) ¼³°è
¼³°è ¹× ½Ã°ø½ÇÀû
Results
¼³°è½ÇÀû
½Ã°ø½ÇÀû
½Ã°øÆ÷Åä°¶·¯¸®
±â¼ú°³¹ß/ÀÚ·á½Ç
Download
°ø¹ý ¼Ò°³ Ä«´Þ·Î±× ´Ù¿î·Îµå
°ø¹ý »ó¼¼µµ¸é ´Ù¿î·Îµå
±â¼úÀÚ·á
°í°´¼¾ÅÍ
Customer
°øÁö»çÇ×
°ßÀûÀÇ·Ú
°í°´¹®ÀÇ
ģȯ°æ Áö¹Ýº¸°À» À§ÇÑ Á¶»ç, ¼³°è, ½Ã°øÀº
ÆòÈÁö¿ÀÅØ(ÁÖ)
¿¡¼ Ã¥ÀÓÁö°Ú½À´Ï´Ù.
Company
ȸ»ç¼Ò°³
Àλ縻
¿¬Çõ
Á¶Á÷µµ
»ç¾÷ºÐ¾ß
ƯÇã ¹× ÀÎÁõ
ÀÚ°Ý ¹× ¸éÇã
º¸À¯ÀåºñÇöȲ
¿À½Ã´Â±æ
°í°´¹®ÀÇ
031-744-3456
Hours
AM 09:00 ~ PM 06:00
°ø¹ý¼Ò°³ Ä«´Þ·Î±× / Download
Home > Company
¤ý
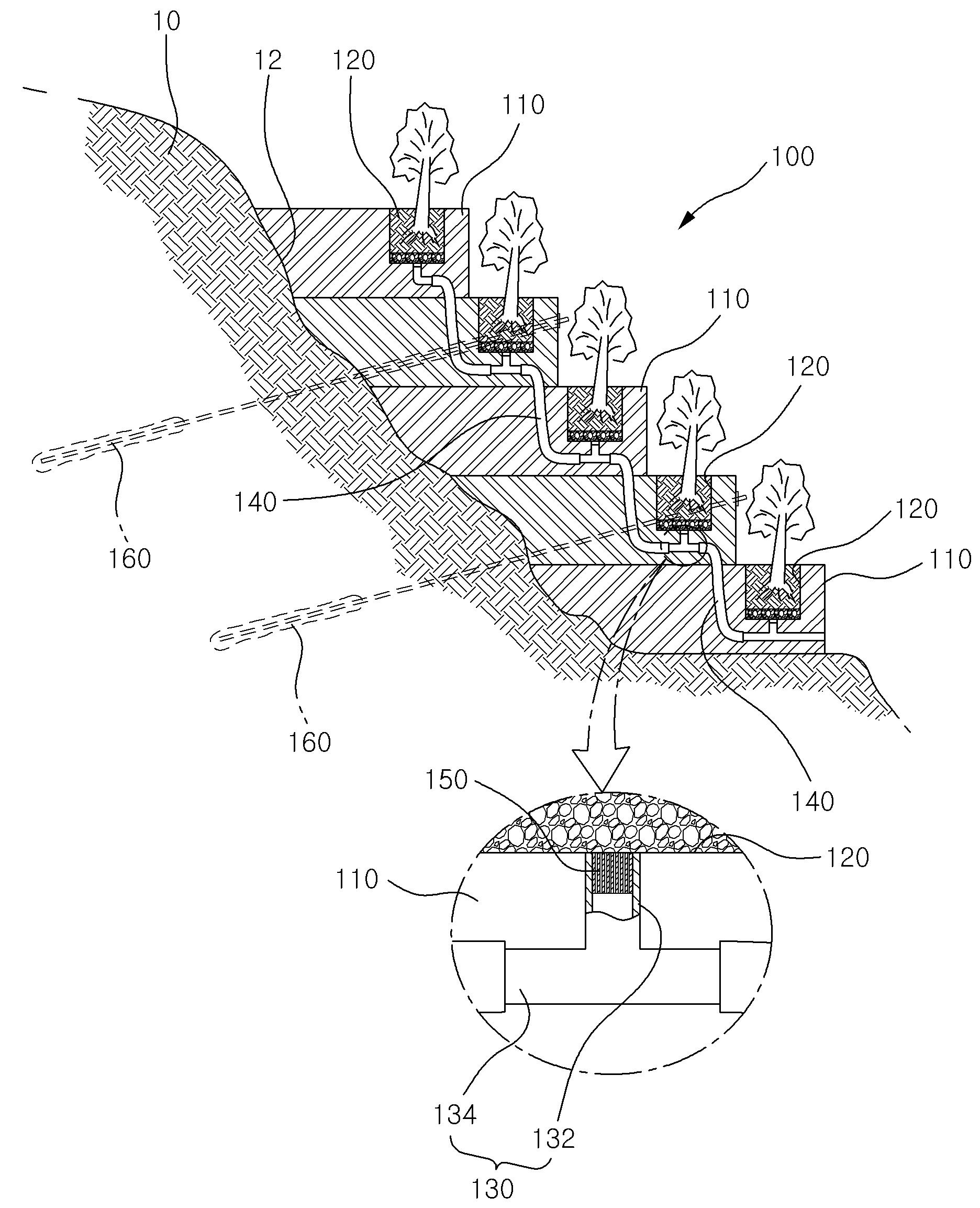
¸íĪ
¿¬¼º°üÀ» ÀÌ¿ëÇÑ ¿¬Á÷ ¹è¼öÇü ģȯ°æ °è´Ü½Ä ¿Ëº®
¤ý
ºÐ ·ù
ƯÇãÃâ¿øÇöȲ
¤ý
÷ºÎ#1
c6afc7e3c1f5bfacbcbab0fcc0bbb0e8b4dcbdc4bfcbbaae1081564.jpg
(1,974KB) (Down:66)
¤ý
÷ºÎ#2
remotefiledo.jpg
(438KB) (Down:63)
¤ý
µî·Ï¹øÈ£
Á¦10-1081564È£
¤ý
µî·ÏÀÏ
2011.11.02
º» ¹ß¸íÀº ¿¬¼º°üÀ» ÀÌ¿ëÇÑ ¿¬Á÷ ¹è¼öÇü ģȯ°æ °è´Ü½Ä ¿Ëº® ¹× ÀÌÀÇ ½Ã°ø¹æ¹ý¿¡ °üÇÑ °ÍÀ¸·Î, ÀýÅä»ç¸éÀÇ Á¤¸®¸é »ó¿¡ ö±ÙÀÇ ¹è±Ù ÈÄ ¿¬¼º°ü°ú ÁöÇ¥¼ö À¯Ãâ°üÀ» ¹è°üÀ» ÅëÇØ ÄÜÅ©¸®Æ® Ÿ¼³À» ÇÏ¿© °è´Ü½Ä ¿Ëº®À» ½Ã°øÇÒ ¼ö ÀÖµµ·Ï ÇÔÀ¸·Î½á ¿Ëº®ÀÇ ½Ã°øÀ» º¸´Ù ¿ëÀÌÇÏ°Ô ÇÒ ¼ö ÀÖµµ·Ï ÇÑ ¿¬¼º°üÀ» ÀÌ¿ëÇÑ ¿¬Á÷ ¹è¼öÇü ģȯ°æ °è´Ü½Ä ¿Ëº®À» Á¦°øÇÔ¿¡ ±× ¸ñÀûÀÌ ÀÖ´Ù. À̸¦ À§ÇØ ±¸¼ºµÇ´Â º» ¹ß¸íÀº µµ·Î, Á¦¹æ, öµµ ¶Ç´Â ÅͳÎÀÇ ±¸ÃâÀ» À§ÇÑ ¹ý¸é, ÀýÅä»ç¸é, Àý¼ºÅä ¶Ç´Â ºØ¶ô°æ»ç¸é¿¡ °è´Ü½ÄÀ¸·Î Çü¼ºµÇ´Â ¿Ëº®ºÎ¿Í ¿Ëº®ºÎÀÇ °è´Ü¸é »ó¿¡ ½Ä¹°ÀÇ ½ÄÀç°¡ ÀÌ·ç¾îÁö´Â ½ÄÀçºÎÀÇ ±¸¼ºÀ¸·Î ÀÌ·ç¾îÁø °è´Ü½Ä ¿Ëº®¿¡ ÀÖ¾î¼, ¿Ëº®ºÎ °¢°¢ÀÇ ½ÄÀçºÎ ÇϺÎÃø¿¡ ÀμƮ ¼³Ä¡µÇ¾îÁöµÇ ½ÄÀçºÎ ÇϺηκÎÅÍ ÁöÇ¥¼öÀÇ À¯ÀÔÀÌ ÀÌ·ç¾îÁö´Â À¯µµ°ü°ú À¯µµ°ü ÇϺηκÎÅÍ ºÐ±âµÇ´Â ºÐ±â°üÀÌ ÀÏü·Î Çü¼ºµÈ ÁöÇ¥¼ö À¯Ãâ°ü; ¿Ëº®ºÎ °¢°¢¿¡ ÀμƮ ¼³Ä¡µÈ ÁöÇ¥¼ö À¯Ãâ°üÀ» »óÈ£ ¿¬°áÇ쵂 ÇÏÀ§ÀÇ ¿Ëº®ºÎ ÇϺο¡ ¼³Ä¡µÈ ÁöÇ¥¼ö À¯Ãâ°üÀÇ ºÐ±â°ü ÈĴܰú »óÀ§ÀÇ ¿Ëº®ºÎ ÇϺο¡ ¼³Ä¡µÈ ÁöÇ¥¼ö À¯Ãâ°üÀÇ ºÐ±â°ü ¼±´ÜÀ» ¿¬°áÇÏ´Â Ç÷º½ÃºíÇÑ ¿¬¼º°ü; ¹× ÁöÇ¥¼ö À¯Ãâ°üÀÇ À¯µµ°ü »ó´Ü ³»°æ¿¡ ¼³Ä¡µÇ¾î ½ÄÀçºÎ¿¡ ä¿öÁø ÈëÀ̳ª ±âŸ À̹°ÁúÀÌ À¯ÀԵǵµ·Ï ¾Êµµ·Ï ÇÏ´Â ÇÊÅ͸¦ Æ÷ÇÔÇÑ ±¸¼ºÀ¸·Î ÀÌ·ç¾îÁø´Ù
Ä«Å×°í¸® Àüü (24)
ƯÇãÃâ¿øÇöȲ (21)
½Ç¿ë½Å¾Èµî·Ï (1)
¿¬±¸°³¹ßÀü´ãºÎ¼ (0)
½Å±â¼úÁöÁ¤Áõ¼ (1)
¼ºñ½ºÇ¥µî·ÏÁõ (1)
No.
ºÐ·ù
¸íĪ
µî·Ï¹øÈ£
µî·ÏÀÏ
24
ƯÇãÃâ¿øÇöȲ
ÆÐ³Î¿¡ ¿¬°áÇÏ´Â ½îÀϳ×Àϸµ ºñÅ»¸é º¸° ½Ã½ºÅÛ
Á¦ 10-2079570 È£
2020.02.14
23
ƯÇãÃâ¿øÇöȲ
¾ÐÃึÂûÇü ¾ÞÄ¿ ÆÐ³Î Áö¹Ý º¸° ½Ã½ºÅÛ
Á¦ 10-2079563 È£
2020.02.14
22
ƯÇãÃâ¿øÇöȲ
ÆÐ³Î°ú º¹ÇÕ°°üÀ» ÀÌ¿ëÇÑ ±ð±âºñÅ»¸é Áö¹Ýº¸°½Ã½ºÅÛ
Á¦ 10-2079330 È£
2020.02.13
21
ƯÇãÃâ¿øÇöȲ
ÅëÇü»ó ºÎÀç·Î ÀÌ·ç¾îÁø ¾ÞĿü¸¦ ±¸ºñÇÏ¿© Ãø¸éÈ®Àå ¹üÀ§¸¦ ±Ø´ë..
Á¦ 10-1845479 È£
2018.03.29
20
ƯÇãÃâ¿øÇöȲ
õ°øÈ¦À» ÀÌ¿ëÇÑ ÅͳΠ¼³ºñ Ãà¼Ò¹æ¹ý
Á¦10-1592408È£
2016.02.01
19
ƯÇãÃâ¿øÇöȲ
ȯ°æÄ£ÈÀû Áö¹Ý º¸° ¸ðµâ ¼³Ä¡¹æ¹ý
Á¦10-1374297È£
2014.03.07
18
ƯÇãÃâ¿øÇöȲ
PC°¿¬¼±À» ÀÌ¿ëÇÑ ±×¶ó¿îµå ¾ÞÄ¿ ±¸Á¶
Á¦10-1257858È£
2013.04.18
17
½Å±â¼úÁöÁ¤Áõ¼
Àü´Üº¸°À縦 »ðÀÔÇÑ º¹ÇÕ°°ü ¾Ð·Â½Ä ³×Àϸµ °ø¹ý
Á¦673È£
2012.10.08
16
ƯÇãÃâ¿øÇöȲ
¿¬¼º°üÀ» ÀÌ¿ëÇÑ ¿¬Á÷ ¹è¼öÇü ģȯ°æ °è´Ü½Ä ¿Ëº®
Á¦10-1081564È£
2011.11.02
15
ƯÇãÃâ¿øÇöȲ
±×¶ó¿ìÆÃÀç ÁÖÀÔÀåÄ¡ ¹× À̸¦ ÀÌ¿ëÇÑ ±×¶ó¿ìÆÃÀç ÁÖÀÔ¹æ¹ý
Á¦10-1011785È£
2011.01.24
14
ƯÇãÃâ¿øÇöȲ
º¹ÇÕ ½îÀϳ×Àϸµ Áö¹Ýº¸°ÀåÄ¡ ¹× À̸¦ ÀÌ¿ëÇÑ º¹ÇÕ ½îÀϳ×Àϸµ°ø..
Á¦10-0937237È£
2010.01.08
13
ƯÇãÃâ¿øÇöȲ
Åä¾ç ¾ÈÁ¤ ¹× °³·®Á¦¸¦ ÀÌ¿ëÇÑ »ç¸éº¸È£ ½Ã°ø¹æ¹ý
Á¦10-0921711È£
2009.10.07
12
ƯÇãÃâ¿øÇöȲ
º¸°Åä RC¿Ëº®
Á¦10-0890828È£
2009.03.20
11
ƯÇãÃâ¿øÇöȲ
°æÈÁ¦ Á¦Á¶ÀåÄ¡¿Í ½½¶óÀÓ Àçó¸®ÀåÄ¡¸¦ ÀÌ¿ëÇÑ °í¾ÐºÐ»çÁö¹Ý°³·®..
Á¦10-0886220È£
2009.02.23
10
¼ºñ½ºÇ¥µî·ÏÁõ
SSJ
Á¦41-0180414È£
2009.01.22
9
½Ç¿ë½Å¾Èµî·Ï
º¸°Åä ¿Ëº®¿ë LÀÚÇüÁöÁö °ÀçÆ²
Á¦20-0443257È£
2009.01.21
8
ƯÇãÃâ¿øÇöȲ
´Ù¹ß°°üÀ» ÀÌ¿ëÇÑ ±×¶ó¿ìÆÃ ¹æ½ÄÀÇ Áö¹Ýº¸°ÀåÄ¡ ¹× À̸¦ÅëÇÑ Áö..
Á¦10-0869369È£
2008.11.12
7
ƯÇãÃâ¿øÇöȲ
½Ç¸®Ä«Á¹ ÀÚµ¿Á¦Á¶ÀåÄ¡¸¦ ÀÌ¿ëÇÑ Áö¹Ý °¡¾ÐÁÖÀÔ º¸°¹æ¹ý
Á¦10-0855306È£
2008.08.25
6
ƯÇãÃâ¿øÇöȲ
¿µ±¸Çü ¾ÞÄ¿
Á¦10-0819538È£
2008.03.28
5
ƯÇãÃâ¿øÇöȲ
¿µ±¸Çü¾ÞÄ¿
Á¦10-0819536È£
2008.03.28
4
ƯÇãÃâ¿øÇöȲ
º¹ÇÕ °°üÀ» ÀÌ¿ëÇÑ ±×¶ó¿ìÆÃ ¹æ½ÄÀÇ Áö¹Ýº¸°ÀåÄ¡ ¹× À̸¦ÅëÇÑ ..
Á¦10-0772684È£
2007.10.26
3
ƯÇãÃâ¿øÇöȲ
ÇöÀåÁ¦Á¶ ½Ç¸®Ä« Á¹À» ÀÌ¿ëÇÑ °í¾ÐºÐ»ç Áö¹Ý°³·®°ø¹ý
Á¦10-0671486È£
2007.01.12
2
ƯÇãÃâ¿øÇöȲ
¼¶À¯Æ÷´ë¿Í ±×¶ó¿ìÆÃ°üÀ» ÀÌ¿ëÇÑ ±×¶ó¿ìÆÃ ±¸Á¶Ã¼ ¹× À̸¦ ÀÌ¿ëÇÑ..
Á¦10-0623242È£
2006.09.05
1
ƯÇãÃâ¿øÇöȲ
½ºÇÁ¸µ³»Àå Á¦°ÅÇü ¾î½º¾ÞÄ¿
Á¦10-0403280È£
2003.10.14
1
24
PYONGHWA GEOTEC CO.,LTD.
ÆòÈÁö¿ÀÅØ ÁÖ½Äȸ»ç ´ëÇ¥ÀÌ»ç : ¹ÚÁ¾È£ »ç¾÷ÀÚµî·Ï¹øÈ£ : 212-81-74934
º»»ç : ºÎ»ê±¤¿ª½Ã µ¿±¸ Áß¾Ó´ë·Î 169, 1203È£ Tel : 051-442-3456 Fax : 051-442-1001
°æ±âÁö»ç : °æ±âµµ Çϳ²½Ã ¹Ì»ç´ë·Î 510, 812È£, 813È£ Tel : 031-744-3456 Fax : 031-795-0133, 0155
Copyright¨Ï
PYONGHWA GEOTEC
. All Rights Reserved.