

´ëǥû±¸Ç×
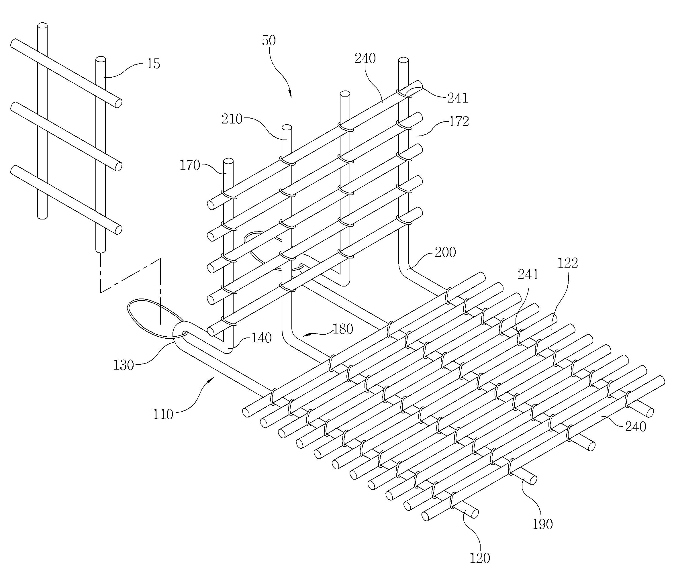
ÁöÁö °ÀçÆ²(50)ÀÇ ¹Ù´ÚºÎ(122)¸¦ ÀÌ·ç´Â Á¦ 1 ¼öÆò °ÀçºÀ(120)°ú, »ó±â Á¦ 1 ¼öÆò
°ÀçºÀ(120)ÀÇ ±æÀ̹æÇâÀ¸·Î ¿¬ÀåÇü¼ºµÇ°í, ÄÜÅ©¸®Æ® º®Ã¼(10)¿¡ ¸Å¼³µÇ´Â UÀÚ Çü»óÀÇ ÄÜÅ©¸®Æ® ¿¬°áºÎ(130)¿Í, »ó±â
ÄÜÅ©¸®Æ® ¿¬°áºÎ(130)ÀÇ ÀÏÃøÀ¸·Î ¿¬ÀåÇü¼ºµÇ°í, Á¦ 1 ¼öÁ÷ °ÀçºÀ(170)ÀÇ °¢µµ¸¦ Á¶ÀýÇÏ´Â LÀÚ Çü»óÀÇ °¢µµÁ¶Àý¿ë
°Àç(140)¿Í, »ó±â °¢µµÁ¶Àý¿ë °Àç(140)ÀÇ »óÃøÀ¸·Î ¿¬ÀåÇü¼ºµÇ°í, ÁöÁö °ÀçÆ²(50)ÀÇ Àü¸éºÎ(172)¸¦ ÀÌ·ç´Â Á¦ 1
¼öÁ÷ °ÀçºÀ(170)À¸·Î ÀÌ·ç¾îÁø Á¦ 1 ÁöÁöƲ;°ú, ÁöÁö °ÀçÆ²(50)ÀÇ ¹Ù´ÚºÎ(122)¸¦ ÀÌ·ç´Â Á¦ 2 ¼öÆò
°ÀçºÀ(190)°ú, »ó±â Á¦ 2 ¼öÆò °ÀçºÀ(190)ÀÇ ±æÀ̹æÇâÀ¸·Î ¿¬ÀåÇü¼ºµÈ LÀÚ Çü»óÀÇ ±¼Àý¿ë °Àç(200)¿Í, »ó±â ±¼Àý¿ë
°Àç(200)ÀÇ »óÃøÀ¸·Î ¿¬ÀåÇü¼ºµÇ°í, ÁöÁö °ÀçÆ²(50)ÀÇ ¹Ù´ÚºÎ(122)¸¦ ÀÌ·ç´Â Á¦ 2 ¼öÁ÷ °ÀçºÀ(210)À¸·Î ÀÌ·ç¾îÁø Á¦
2 ÁöÁöƲ(180); ¹×, »ó±â Á¦ 1,2 ¼öÆò °ÀçºÀ(120,190) ¹× Á¦ 1,2 ¼öÁ÷ °ÀçºÀ(170,210)¿¡ °áÇյǴ °ºÀ(240);À» Æ÷ÇÔÇÏ¿© ±¸¼ºµÈ °ÍÀ» Ư¡À¸·Î ÇÏ´Â º¸°Åä ¿Ëº®¿ë £ÌÀÚÇü ÁöÁö °ÀçÆ².
û±¸Ç×
û±¸Ç× 1Ç×
ÁöÁö °ÀçÆ²(50)ÀÇ ¹Ù´ÚºÎ(122)¸¦ ÀÌ·ç´Â Á¦ 1 ¼öÆò °ÀçºÀ(120)°ú, »ó±â Á¦ 1 ¼öÆò °ÀçºÀ(120)ÀÇ ±æÀ̹æÇâÀ¸·Î
¿¬ÀåÇü¼ºµÇ°í, ÄÜÅ©¸®Æ® º®Ã¼(10)¿¡ ¸Å¼³µÇ´Â UÀÚ Çü»óÀÇ ÄÜÅ©¸®Æ® ¿¬°áºÎ(130)¿Í, »ó±â ÄÜÅ©¸®Æ® ¿¬°áºÎ(130)ÀÇ ÀÏÃøÀ¸·Î
¿¬ÀåÇü¼ºµÇ°í, Á¦ 1 ¼öÁ÷ °ÀçºÀ(170)ÀÇ °¢µµ¸¦ Á¶ÀýÇÏ´Â LÀÚ Çü»óÀÇ °¢µµÁ¶Àý¿ë °Àç(140)¿Í, »ó±â °¢µµÁ¶Àý¿ë
°Àç(140)ÀÇ »óÃøÀ¸·Î ¿¬ÀåÇü¼ºµÇ°í, ÁöÁö °ÀçÆ²(50)ÀÇ Àü¸éºÎ(172)¸¦ ÀÌ·ç´Â Á¦ 1 ¼öÁ÷ °ÀçºÀ(170)À¸·Î ÀÌ·ç¾îÁø Á¦
1 ÁöÁöƲ;°ú, ÁöÁö °ÀçÆ²(50)ÀÇ ¹Ù´ÚºÎ(122)¸¦ ÀÌ·ç´Â Á¦ 2 ¼öÆò °ÀçºÀ(190)°ú, »ó±â Á¦ 2 ¼öÆò
°ÀçºÀ(190)ÀÇ ±æÀ̹æÇâÀ¸·Î ¿¬ÀåÇü¼ºµÈ LÀÚ Çü»óÀÇ ±¼Àý¿ë °Àç(200)¿Í, »ó±â ±¼Àý¿ë °Àç(200)ÀÇ »óÃøÀ¸·Î ¿¬ÀåÇü¼ºµÇ°í,
ÁöÁö °ÀçÆ²(50)ÀÇ ¹Ù´ÚºÎ(122)¸¦ ÀÌ·ç´Â Á¦ 2 ¼öÁ÷ °ÀçºÀ(210)À¸·Î ÀÌ·ç¾îÁø Á¦ 2 ÁöÁöƲ(180); ¹×, »ó±â Á¦ 1,2 ¼öÆò °ÀçºÀ(120,190) ¹× Á¦ 1,2 ¼öÁ÷ °ÀçºÀ(170,210)¿¡ °áÇյǴ °ºÀ(240);À» Æ÷ÇÔÇÏ¿© ±¸¼ºµÈ °ÍÀ» Ư¡À¸·Î ÇÏ´Â º¸°Åä ¿Ëº®¿ë £ÌÀÚÇü ÁöÁö °ÀçÆ².
û±¸Ç× 2Ç×
Á¦ 1Ç׿¡ ÀÖ¾î¼, »ó±â Á¦ 1 ÁöÁöƲÀº, ÀÏÃø¿¡ ³ª»ç¼±ÀÌ Çü¼ºµÇ°í Àϸ鿡 ´Ù¼ö°³ÀÇ Á¦ 1 »ðÀÔȨ(121)ÀÌ
±¸ºñµÇ¸ç, ÁöÁö °ÀçÆ²(50)ÀÇ ¹Ù´ÚºÎ(122)¸¦ ÀÌ·ç´Â Á¦ 1 ¼öÆò °ÀçºÀ(120)°ú, ÀÏÃø¿¡ ³ª»ç¼±ÀÌ Çü¼ºµÇ°í, Àϸ鿡
´Ù¼ö°³ÀÇ Á¦ 2 »ðÀÔȨ(171)ÀÌ ±¸ºñµÇ¸ç, ÁöÁö °ÀçÆ²(50)ÀÇ Àü¸éºÎ(172)¸¦ ÀÌ·ç´Â Á¦ 1 ¼öÁ÷ °ÀçºÀ(170)°ú,
³»Áָ鿡´Â Á¦ 1 ¼öÆò °ÀçºÀ(120)ÀÇ ³ª»ç¼±°ú ¸Â¹°¸®´Â ¾Ï ³ª¼±È¨ÀÌ ±¸ºñµÇ°í, Àϸ鿡´Â ´Ù¼ö°³ÀÇ °üÅëȦ(70)ÀÌ ±¸ºñµÈ Á¦ 1
¶ó¿îµù ÆÐ³Î(151)ÀÌ ¼³Ä¡µÈ Á¦ 1 ¼öÆò ü°áºÎ(150)¿Í, ³»Áָ鿡´Â Á¦ 1 ¼öÁ÷ °ÀçºÀ(170)ÀÇ ³ª»ç¼±°ú ¸Â¹°¸®´Â ¾Ï
³ª¼±È¨ÀÌ ±¸ºñµÇ°í Àϸ鿡´Â ´Ù¼ö°³ÀÇ °üÅëȦ(70)ÀÌ ±¸ºñµÈ Á¦ 2 ¶ó¿îµù ÆÐ³Î(161)ÀÌ ¼³Ä¡µÈ Á¦ 1 ¼öÁ÷ ü°áºÎ(160)·Î
ÀÌ·ç¾îÁ® ÈùÁö(60)¿¡ ÀÇÇØ °áÇյǴ °¢µµÁ¶Àý¿ë °Àç(140)¿Í, »ó±â ÈùÁö(60)¿¡ °áÇÕµÇ¾î °¢µµÁ¶Àý¿ë °Àç(140)ÀÇ ¿ÜÃøÀ¸·Î
µ¹ÃâµÇ¸ç ¿¬°áȦÀÌ ±¸ºñµÈ ÄÜÅ©¸®Æ® ¿¬°áºÎ(130)¸¦ Æ÷ÇÔÇÏ¿© ÀÌ·ç¾îÁö°í, »ó±â Á¦ 2 ÁöÁöƲÀº, ÀÏÃø¿¡ ³ª»ç¼±ÀÌ
Çü¼ºµÇ°í Àϸ鿡 ´Ù¼ö°³ÀÇ Á¦ 3 »ðÀÔȨ(191)ÀÌ ±¸ºñµÇ¸ç, ÁöÁö °ÀçÆ²(50)ÀÇ ¹Ù´ÚºÎ(122)¸¦ ÀÌ·ç´Â Á¦ 2 ¼öÆò
°ÀçºÀ(190)°ú, ÀÏÃø¿¡ ³ª»ç¼±ÀÌ Çü¼ºµÇ°í, Àϸ鿡 ´Ù¼ö°³ÀÇ Á¦ 4 »ðÀÔȨ(211)ÀÌ ±¸ºñµÇ¸ç, ÁöÁö °ÀçÆ²(50)ÀÇ
Àü¸éºÎ(172)¸¦ ÀÌ·ç´Â Á¦ 2 ¼öÁ÷ °ÀçºÀ(210)°ú, ³»Áָ鿡´Â Á¦ 2 ¼öÆò °ÀçºÀ(190)ÀÇ ³ª»ç¼±°ú ¸Â¹°¸®´Â ¾Ï ³ª¼±È¨ÀÌ
±¸ºñµÇ°í, Àϸ鿡´Â ´Ù¼ö°³ÀÇ °üÅëȦ(70)ÀÌ ±¸ºñµÈ Á¦ 3¶ó¿îµù ÆÐ³ÎÀÌ ¼³Ä¡µÈ Á¦ 2 ¼öÆò ü°áºÎ(220)¿Í, ³»Áָ鿡´Â Á¦ 2
¼öÁ÷ °ÀçºÀ(210)ÀÇ ³ª»ç¼±°ú ¸Â¹°¸®´Â ¾Ï ³ª¼±È¨ÀÌ ±¸ºñµÇ°í Àϸ鿡´Â ´Ù¼ö°³ÀÇ °üÅëȦ(70)ÀÌ ±¸ºñµÈ Á¦ 4 ¶ó¿îµù
ÆÐ³Î(231)ÀÌ ¼³Ä¡µÈ Á¦ 2 ¼öÁ÷ ü°áºÎ(230)·Î ÀÌ·ç¾îÁ® ÈùÁö(60)¿¡ ÀÇÇØ °áÇյǴ °¢µµÁ¶Àý¿ë °Àç(140')¸¦ Æ÷ÇÔÇÏ¿©
ÀÌ·ç¾îÁö¸ç, »ó±â Á¦ 1,2 ¼öÆò °ÀçºÀ(120,190) ¹× Á¦ 1,2 ¼öÁ÷ °ÀçºÀ(170,210)¿¡ Çü¼ºµÈ
»ðÀÔȨ(121,171,191,211)¿¡ »ðÀÔ°áÇյǴ °ºÀ(240)À» Æ÷ÇÔÇÏ¿© ±¸¼ºµÈ °ÍÀ» Ư¡À¸·Î ÇÏ´Â º¸°Åä ¿Ëº®¿ë £ÌÀÚÇü ÁöÁö
°ÀçÆ².
¿ä¾à
º» °í¾ÈÀº º¸°Åä ¿Ëº®¿ë £ÌÀÚÇü ÁöÁö °ÀçÆ²¿¡ °üÇÑ °ÍÀ¸·Î, º¸°Åä ¿Ëº®ÀÌ ¾ÈÁ¤¼º ÀÖ´Â °¢µµ·Î
ÃàÁ¶µÇ°í ÄÜÅ©¸®Æ® º®Ã¼¿Í ÁöÁö °ÀçÆ²ÀÌ ÀÏüȵʿ¡ µû¶ó ÃàÁ¶µÈ ¿Ëº®ÀÌ º¯ÇüµÇ°Å³ª ºØ±«µÇÁö ¾Ê°í °ß°í¼º ¹× ¾ÈÁ¤¼ºÀ» Áö¼ÓÀûÀ¸·Î
À¯ÁöÇÒ ¼ö ÀÖµµ·Ï ÇÔÀ» ¸ñÀûÀ¸·Î ÇÑ´Ù. º» °í¾È¿¡ ÀÇÇÑ º¸°Åä ¿Ëº®¿ë £ÌÀÚÇü ÁöÁö °ÀçÆ²Àº, ÁöÁö °ÀçÆ²(50)ÀÇ
¹Ù´ÚºÎ(122)¸¦ ÀÌ·ç´Â Á¦ 1 ¼öÆò °ÀçºÀ(120)°ú, »ó±â Á¦ 1 ¼öÆò °ÀçºÀ(120)ÀÇ ±æÀ̹æÇâÀ¸·Î ¿¬ÀåÇü¼ºµÇ°í, ÄÜÅ©¸®Æ®
º®Ã¼(10)¿¡ ¸Å¼³µÇ´Â UÀÚ Çü»óÀÇ ÄÜÅ©¸®Æ® ¿¬°áºÎ(130)¿Í, »ó±â ÄÜÅ©¸®Æ® ¿¬°áºÎ(130)ÀÇ ÀÏÃøÀ¸·Î ¿¬ÀåÇü¼ºµÇ°í, Á¦ 1
¼öÁ÷ °ÀçºÀ(170)ÀÇ °¢µµ¸¦ Á¶ÀýÇÏ´Â LÀÚ Çü»óÀÇ °¢µµÁ¶Àý¿ë °Àç(140)¿Í, »ó±â °¢µµÁ¶Àý¿ë °Àç(140)ÀÇ »óÃøÀ¸·Î
¿¬ÀåÇü¼ºµÇ°í, ÁöÁö °ÀçÆ²(50)ÀÇ Àü¸éºÎ(172)¸¦ ÀÌ·ç´Â Á¦ 1 ¼öÁ÷ °ÀçºÀ(170)À¸·Î ÀÌ·ç¾îÁø Á¦ 1 ÁöÁöƲ;°ú, Áö
Áö °ÀçÆ²(50)ÀÇ ¹Ù´ÚºÎ(122)¸¦ ÀÌ·ç´Â Á¦ 2 ¼öÆò °ÀçºÀ(190)°ú, »ó±â Á¦ 2 ¼öÆò °ÀçºÀ(190)ÀÇ ±æÀ̹æÇâÀ¸·Î
¿¬ÀåÇü¼ºµÈ LÀÚ Çü»óÀÇ ±¼Àý¿ë °Àç(200)¿Í, »ó±â ±¼Àý¿ë °Àç(200)ÀÇ »óÃøÀ¸·Î ¿¬ÀåÇü¼ºµÇ°í, ÁöÁö °ÀçÆ²(50)ÀÇ
¹Ù´ÚºÎ(122)¸¦ ÀÌ·ç´Â Á¦ 2 ¼öÁ÷ °ÀçºÀ(210)À¸·Î ÀÌ·ç¾îÁø Á¦ 2 ÁöÁöƲ(180); ¹×, »ó±â Á¦ 1,2 ¼öÆò °ÀçºÀ(120,190) ¹× Á¦ 1,2 ¼öÁ÷ °ÀçºÀ(170,210)¿¡ °áÇյǴ °ºÀ(240);À» Æ÷ÇÔÇÏ¿© ±¸¼ºµÈ °ÍÀ» Ư¡À¸·Î ÇÑ´Ù.
|