ȸ»ç¼Ò°³
Company
Àλ縻
¿¬Çõ
Á¶Á÷µµ
»ç¾÷ºÐ¾ß
ƯÇã ¹× ÀÎÁõ
ÀÚ°Ý ¹× ¸éÇã
º¸À¯ÀåºñÇöȲ
¿À½Ã´Â±æ
º¸À¯°ø¹ý¼Ò°³
Introduce
ģȯ°æ ºñÅ»¸éº¸° °ø¹ý
ģȯ°æ ÅͳΠ°³·® °ø¹ý
ģȯ°æ Áö¹Ýº¸° ¹× °³·® °ø¹ý
¼³°è/ÄÁ¼³ÆÃ
Consulting
ºñÅ»¸é ¾ÈÁ¤¼º °ËÅä
ÅͳΠ¾ÈÁ¤¼º °ËÅä
±âÃÊ ¹× Áö¹Ý ¾ÈÁ¤¼º °ËÅä
°¡½Ã¼³(È븷ÀÌ) ¼³°è
¼³°è ¹× ½Ã°ø½ÇÀû
Results
¼³°è½ÇÀû
½Ã°ø½ÇÀû
½Ã°øÆ÷Åä°¶·¯¸®
±â¼ú°³¹ß/ÀÚ·á½Ç
Download
°ø¹ý ¼Ò°³ Ä«´Þ·Î±× ´Ù¿î·Îµå
°ø¹ý »ó¼¼µµ¸é ´Ù¿î·Îµå
±â¼úÀÚ·á
°í°´¼¾ÅÍ
Customer
°øÁö»çÇ×
°ßÀûÀÇ·Ú
°í°´¹®ÀÇ
ģȯ°æ Áö¹Ýº¸°À» À§ÇÑ Á¶»ç, ¼³°è, ½Ã°øÀº
ÆòÈÁö¿ÀÅØ(ÁÖ)
¿¡¼ Ã¥ÀÓÁö°Ú½À´Ï´Ù.
Company
ȸ»ç¼Ò°³
Àλ縻
¿¬Çõ
Á¶Á÷µµ
»ç¾÷ºÐ¾ß
ƯÇã ¹× ÀÎÁõ
ÀÚ°Ý ¹× ¸éÇã
º¸À¯ÀåºñÇöȲ
¿À½Ã´Â±æ
°í°´¹®ÀÇ
031-744-3456
Hours
AM 09:00 ~ PM 06:00
°ø¹ý¼Ò°³ Ä«´Þ·Î±× / Download
Home > Company
¤ý
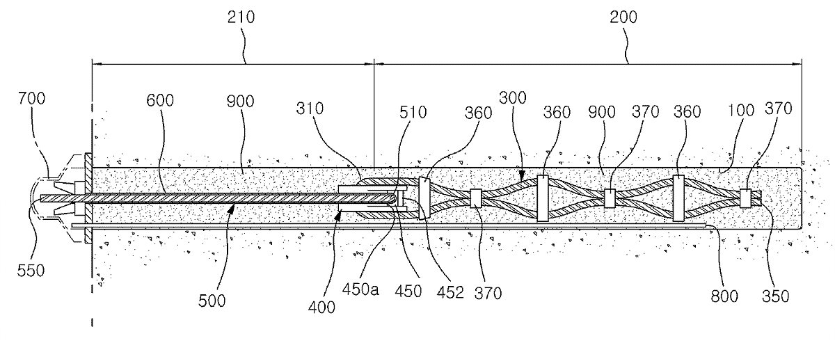
¸íĪ
PC°¿¬¼±À» ÀÌ¿ëÇÑ ±×¶ó¿îµå ¾ÞÄ¿ ±¸Á¶
¤ý
ºÐ ·ù
ƯÇãÃâ¿øÇöȲ
¤ý
÷ºÎ#1
14c6afc7e3c1f52810125785829pcb0adbfacbcb1c0bb1c0e5.jpg
(331KB) (Down:7)
¤ý
÷ºÎ#2
b4ebc7a5b5b5.jpg
(113KB) (Down:8)
¤ý
µî·Ï¹øÈ£
Á¦10-1257858È£
¤ý
µî·ÏÀÏ
2013.04.18
º» ¹ß¸íÀº PC °¿¬¼±À» ÀÌ¿ëÇÑ ±×¶ó¿îµå ¾ÞÄ¿ ±¸Á¶¿¡ °üÇÑ °ÍÀ¸·Î, º» ¹ß¸íÀº ¿¬°á±¸¸¦ ±¸ºñÇÔÀ¸·Î½á ¿©·¯°¡´ÚÀ»
»ç¿ëÇÏ´Â ÀϹÝÀûÀÎ ±×¶ó¿îµå ¾ÞÄ¿¿¡¼ °¿¬¼±ÀÇ ±æÀ̰¡ µ¿ÀÏÇÏ°Ô µÇ¹Ç·Î ÀÎÀå°¿¬¼±ÀÇ ´ÃÀ½·®¿¡ ´ëÇÑ °ü¸®°¡ ¿ë
ÀÌÇÏ°Ô ÀÌ·ç¾îÁú ¼ö ÀÖÀ¸¸ç, °íÁ¤°¿¬¼±°ú ÀÎÀå°¿¬¼±ÀÇ ¿¬°áºÎºÐ¿¡ ¹ß»ýÇÏ´Â ÁýÁßÇÏÁß¿¡µµ ¿¬°á±¸°¡ ³»ÇÏü ¿ª
ÇÒÀ» µ¿½Ã¿¡ ÇÔÀ¸·Î ¹Ì¼¼±Õ¿À» ¾ïÁ¦ÇÏ¿© Á¤Âø °íÁ¤ºÎÀÇ Á¤Âø °íÁ¤·ÂÀ» ³ô¿© Áö¹Ýº¸° È¿À²À» ÇöÀúÈ÷ Áõ´ë½Ãų
¼ö ÀÖµµ·Ï ÇÔ¿¡ ±× ¸ñÀûÀÌ ÀÖ´Ù.
À̸¦ À§ÇØ ±¸¼ºµÇ´Â º» ¹ß¸í¿¡ µû¸¥ PC °¿¬¼±À» ÀÌ¿ëÇÑ ±×¶ó¿îµå ¾ÞÄ¿ ±¸Á¶´Â ÀÏÁ¤±æÀ̸¦ °¡Áö´Â PC °¿¬¼±À¸·Î
ÀÌ·ç¾îÁö¸ç, Áö¹ÝÀ» º¸°Çϱâ À§ÇÑ ±×¶ó¿îµå ¾ÞÄ¿ ±¸Á¶¿¡¼ Áö¹Ý¿¡ ÀÏÁ¤±íÀ̷Πõ°øµÈ õ°øÈ¦ÀÇ ÃÖ ³»Ãø¿¡ ÀÏ´Ü
ÀÌ À§Ä¡µÇ°í, ¸»´ÜÀÌ »ó±â õ°øÈ¦ÀÇ Áß°£ºÎºÐ¿¡ À§Ä¡ÇÏ¿© Á¤ÂøÀåºÎ¸¦ Çü¼ºÇÏ´Â °íÁ¤°¿¬¼±; ÀÏÁ¤±æÀ̸¦ °¡Áö´Â
PC °¿¬¼±À¸·Î ÀÌ·ç¾îÁö¸ç, »ó±â °íÁ¤°¿¬¼±ÀÇ ¸»´Ü°ú ÀÏ´ÜÀÌ ¿¬°áµÇ¸ç, ¸»´ÜÀÌ »ó±â õ°øÈ¦ÀÇ ¿ÜºÎ·Î ÀÏÁ¤±æÀÌ
³ëÃâµÇ¾î ÀÚÀ¯ÀåºÎ¸¦ Çü¼ºÇÏ´Â ÀÎÀå°¿¬¼±; »ó±â ÀÎÀå°¿¬¼±ÀÇ ÀÏ´ÜÀ¸·ÎºÎÅÍ ¸»´Ü ÃøÀ¸·Î ÀÏÁ¤±æÀÌ¿¡ ´ëÇÏ¿© °¨
½Îµµ·Ï ¼³Ä¡µÇ¾î ÀÎÀå°¿¬¼±ÀÇ ¿Ü¸éÀ» º¸È£ÇÏ´Â ÇÑÆí »ó±â ÀÎÀå°¿¬¼±¿¡ ÀÛ¿ëÇÏ´Â ÀÎÀå·ÂÀ» Àü´ÞÇÒ ¼ö ÀÖ´Â ÀÎÀå
º¸°±¸°£À» Çü¼ºÇÏ´Â º¸È£°ü; »ó±â õ°øÈ¦ÀÇ ¿ÜºÎ·Î ³ëÃâµÈ ÀÎÀå°¿¬¼±À» ÀÎÀåµÈ »óÅ·Π°íÁ¤ÇÏ´Â ÀÎÀå°¿¬¼± °í
Á¤ÀåÄ¡; ÀÏ´ÜÀÌ »ó±â õ°øÈ¦ÀÇ ÃÖ ³»ÃøÀ¸·ÎºÎÅÍ ÀÏÁ¤±æÀÌ ¶³¾îÁ® À§Ä¡ÇÏ°í ¸»´ÜÀÌ »ó±â õ°øÈ¦ÀÇ ¿ÜºÎ·Î ³ëÃâµÇ
´Â ±×¶ó¿ìÆÃ°ü; ¹× »ó±â ÀÎÀå°¿¬¼±ÀÇ ÀÎÀå·ÂÀÌ À¯ÁöµÈ »óÅ¿¡¼ »ó±â õ°øÈ¦ ³» Ãø¿¡ ±×¶ó¿ìÆÃµÇ¾î »ó±â ÀÎÀå°
¿¬¼±ÀÇ ÇÁ¸®Åټǿ¡ ÀÇÇØ ¹ß»ýµÈ ÀÎÀå·ÂÀÌ ¾ÐÃà·ÂÀ¸·Î ÀÛ¿ëÇÏ´Â ±×¶ó¿ìÆ®À縦 Æ÷ÇÔÇÏ¿© ±¸¼ºµÇ´Â PC °¿¬¼±À» ÀÌ
¿ëÇÑ ±×¶ó¿îµå ¾ÞÄ¿ ±¸Á¶¿¡ ÀÖ¾î¼, »ó±â °íÁ¤°¿¬¼±°ú ÀÎÀå°¿¬¼±Àº ÀÏ´Ü¿¡ º¥µùºÎ°¡ ¸¸°î Çü¼ºµÇ°í ¸»´Ü¿¡ ÀÏ
Á¤°£°ÝÀ» °¡Áö´Â µÎ °¥·¡·Î ÀÌ·ç¾îÁö´Â ÀÚÀ¯´ÜºÎ°¡ Çü¼ºµÇ´Â U ¹êµå ŸÀÔÀ¸·Î ±¸ºñµÇ´Â ÇÑÆí, »ó±â °íÁ¤°¿¬¼±°ú
ÀÎÀå°¿¬¼±Àº »óÈ£ ´ëÇâµÇ´Â °¢ º¥µùºÎ¸¦ ¿¬°áÇÏ´Â ¿¬°á±¸¸¦ ÅëÇÏ¿© ¿¬°á°íÁ¤µÇ´Â ±¸¼ºÀ¸·Î ÀÌ·ç¾îÁø´Ù.
Ä«Å×°í¸® Àüü (24)
ƯÇãÃâ¿øÇöȲ (21)
½Ç¿ë½Å¾Èµî·Ï (1)
¿¬±¸°³¹ßÀü´ãºÎ¼ (0)
½Å±â¼úÁöÁ¤Áõ¼ (1)
¼ºñ½ºÇ¥µî·ÏÁõ (1)
No.
ºÐ·ù
¸íĪ
µî·Ï¹øÈ£
µî·ÏÀÏ
24
ƯÇãÃâ¿øÇöȲ
ÆÐ³Î¿¡ ¿¬°áÇÏ´Â ½îÀϳ×Àϸµ ºñÅ»¸é º¸° ½Ã½ºÅÛ
Á¦ 10-2079570 È£
2020.02.14
23
ƯÇãÃâ¿øÇöȲ
¾ÐÃึÂûÇü ¾ÞÄ¿ ÆÐ³Î Áö¹Ý º¸° ½Ã½ºÅÛ
Á¦ 10-2079563 È£
2020.02.14
22
ƯÇãÃâ¿øÇöȲ
ÆÐ³Î°ú º¹ÇÕ°°üÀ» ÀÌ¿ëÇÑ ±ð±âºñÅ»¸é Áö¹Ýº¸°½Ã½ºÅÛ
Á¦ 10-2079330 È£
2020.02.13
21
ƯÇãÃâ¿øÇöȲ
ÅëÇü»ó ºÎÀç·Î ÀÌ·ç¾îÁø ¾ÞĿü¸¦ ±¸ºñÇÏ¿© Ãø¸éÈ®Àå ¹üÀ§¸¦ ±Ø´ë..
Á¦ 10-1845479 È£
2018.03.29
20
ƯÇãÃâ¿øÇöȲ
õ°øÈ¦À» ÀÌ¿ëÇÑ ÅͳΠ¼³ºñ Ãà¼Ò¹æ¹ý
Á¦10-1592408È£
2016.02.01
19
ƯÇãÃâ¿øÇöȲ
ȯ°æÄ£ÈÀû Áö¹Ý º¸° ¸ðµâ ¼³Ä¡¹æ¹ý
Á¦10-1374297È£
2014.03.07
18
ƯÇãÃâ¿øÇöȲ
PC°¿¬¼±À» ÀÌ¿ëÇÑ ±×¶ó¿îµå ¾ÞÄ¿ ±¸Á¶
Á¦10-1257858È£
2013.04.18
17
½Å±â¼úÁöÁ¤Áõ¼
Àü´Üº¸°À縦 »ðÀÔÇÑ º¹ÇÕ°°ü ¾Ð·Â½Ä ³×Àϸµ °ø¹ý
Á¦673È£
2012.10.08
16
ƯÇãÃâ¿øÇöȲ
¿¬¼º°üÀ» ÀÌ¿ëÇÑ ¿¬Á÷ ¹è¼öÇü ģȯ°æ °è´Ü½Ä ¿Ëº®
Á¦10-1081564È£
2011.11.02
15
ƯÇãÃâ¿øÇöȲ
±×¶ó¿ìÆÃÀç ÁÖÀÔÀåÄ¡ ¹× À̸¦ ÀÌ¿ëÇÑ ±×¶ó¿ìÆÃÀç ÁÖÀÔ¹æ¹ý
Á¦10-1011785È£
2011.01.24
14
ƯÇãÃâ¿øÇöȲ
º¹ÇÕ ½îÀϳ×Àϸµ Áö¹Ýº¸°ÀåÄ¡ ¹× À̸¦ ÀÌ¿ëÇÑ º¹ÇÕ ½îÀϳ×Àϸµ°ø..
Á¦10-0937237È£
2010.01.08
13
ƯÇãÃâ¿øÇöȲ
Åä¾ç ¾ÈÁ¤ ¹× °³·®Á¦¸¦ ÀÌ¿ëÇÑ »ç¸éº¸È£ ½Ã°ø¹æ¹ý
Á¦10-0921711È£
2009.10.07
12
ƯÇãÃâ¿øÇöȲ
º¸°Åä RC¿Ëº®
Á¦10-0890828È£
2009.03.20
11
ƯÇãÃâ¿øÇöȲ
°æÈÁ¦ Á¦Á¶ÀåÄ¡¿Í ½½¶óÀÓ Àçó¸®ÀåÄ¡¸¦ ÀÌ¿ëÇÑ °í¾ÐºÐ»çÁö¹Ý°³·®..
Á¦10-0886220È£
2009.02.23
10
¼ºñ½ºÇ¥µî·ÏÁõ
SSJ
Á¦41-0180414È£
2009.01.22
9
½Ç¿ë½Å¾Èµî·Ï
º¸°Åä ¿Ëº®¿ë LÀÚÇüÁöÁö °ÀçÆ²
Á¦20-0443257È£
2009.01.21
8
ƯÇãÃâ¿øÇöȲ
´Ù¹ß°°üÀ» ÀÌ¿ëÇÑ ±×¶ó¿ìÆÃ ¹æ½ÄÀÇ Áö¹Ýº¸°ÀåÄ¡ ¹× À̸¦ÅëÇÑ Áö..
Á¦10-0869369È£
2008.11.12
7
ƯÇãÃâ¿øÇöȲ
½Ç¸®Ä«Á¹ ÀÚµ¿Á¦Á¶ÀåÄ¡¸¦ ÀÌ¿ëÇÑ Áö¹Ý °¡¾ÐÁÖÀÔ º¸°¹æ¹ý
Á¦10-0855306È£
2008.08.25
6
ƯÇãÃâ¿øÇöȲ
¿µ±¸Çü ¾ÞÄ¿
Á¦10-0819538È£
2008.03.28
5
ƯÇãÃâ¿øÇöȲ
¿µ±¸Çü¾ÞÄ¿
Á¦10-0819536È£
2008.03.28
4
ƯÇãÃâ¿øÇöȲ
º¹ÇÕ °°üÀ» ÀÌ¿ëÇÑ ±×¶ó¿ìÆÃ ¹æ½ÄÀÇ Áö¹Ýº¸°ÀåÄ¡ ¹× À̸¦ÅëÇÑ ..
Á¦10-0772684È£
2007.10.26
3
ƯÇãÃâ¿øÇöȲ
ÇöÀåÁ¦Á¶ ½Ç¸®Ä« Á¹À» ÀÌ¿ëÇÑ °í¾ÐºÐ»ç Áö¹Ý°³·®°ø¹ý
Á¦10-0671486È£
2007.01.12
2
ƯÇãÃâ¿øÇöȲ
¼¶À¯Æ÷´ë¿Í ±×¶ó¿ìÆÃ°üÀ» ÀÌ¿ëÇÑ ±×¶ó¿ìÆÃ ±¸Á¶Ã¼ ¹× À̸¦ ÀÌ¿ëÇÑ..
Á¦10-0623242È£
2006.09.05
1
ƯÇãÃâ¿øÇöȲ
½ºÇÁ¸µ³»Àå Á¦°ÅÇü ¾î½º¾ÞÄ¿
Á¦10-0403280È£
2003.10.14
1
24
PYONGHWA GEOTEC CO.,LTD.
ÆòÈÁö¿ÀÅØ ÁÖ½Äȸ»ç ´ëÇ¥ÀÌ»ç : ¹ÚÁ¾È£ »ç¾÷ÀÚµî·Ï¹øÈ£ : 212-81-74934
º»»ç : ºÎ»ê±¤¿ª½Ã µ¿±¸ Áß¾Ó´ë·Î 169, 1203È£ Tel : 051-442-3456 Fax : 051-442-1001
°æ±âÁö»ç : °æ±âµµ Çϳ²½Ã ¹Ì»ç´ë·Î 510, 812È£, 813È£ Tel : 031-744-3456 Fax : 031-795-0133, 0155
Copyright¨Ï
PYONGHWA GEOTEC
. All Rights Reserved.