

´ëǥû±¸Ç×
Åͳα¼Âø ¿¹Á¤´Ü¸éÀ̳ª »ç¸é ¹× ±¸Á¶¹° ±âÃÊ Áö¹Ý¿¡ Á÷õ°øÀ» ÅëÇÑ °°üÀÇ ¼³Ä¡ ¶Ç´Â ÀÏÁ¤ ±íÀÌÀÇ
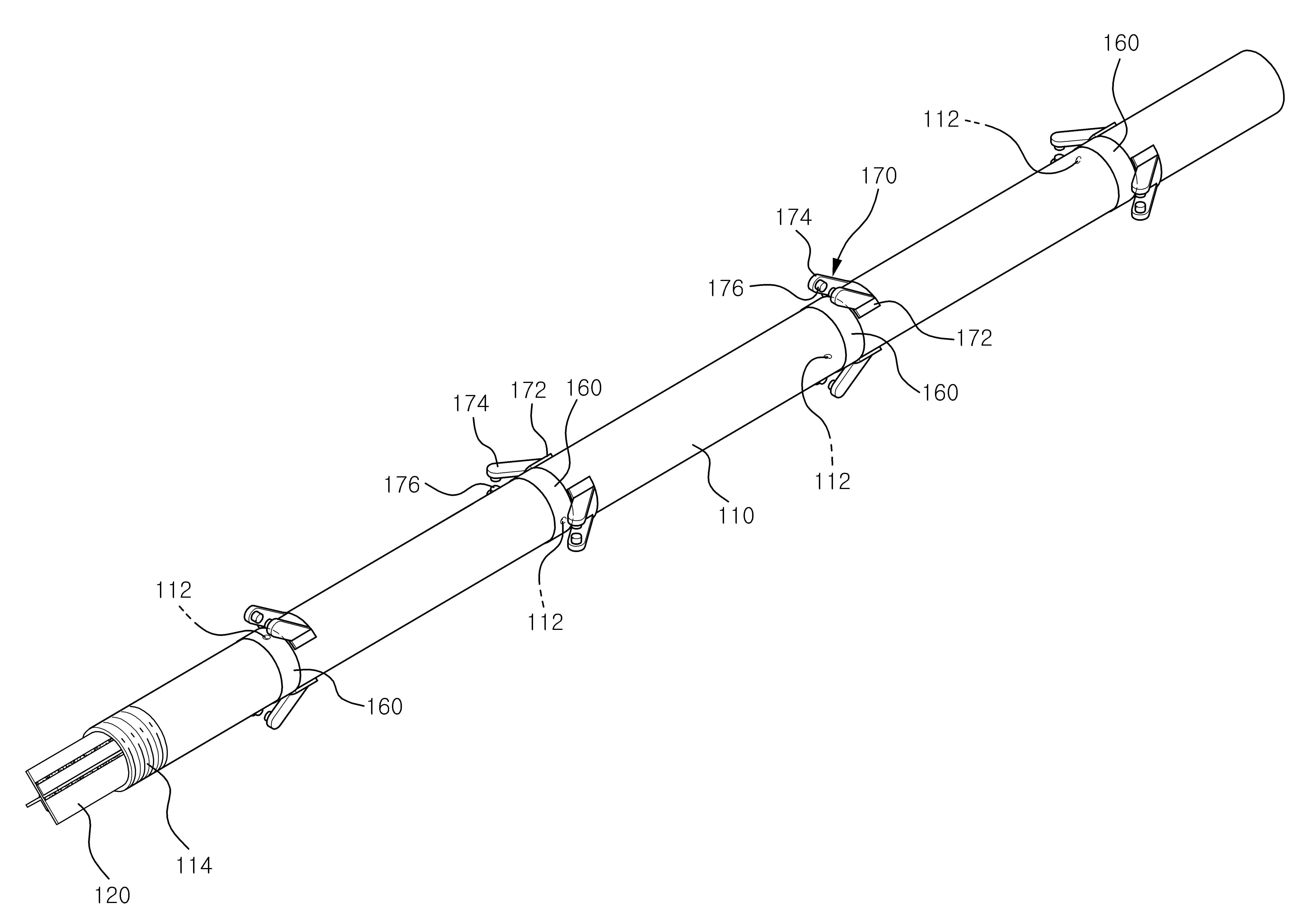
õ°øÈ¦À» Çü¼ºÇÏ¿© »ó±â °°üÀÇ ¼³Ä¡ ÈÄ »ó±â õ°øÈ¦°ú ±× ÁÖº¯ÀÇ À̿Ͽµ¿ª ¹× ±Õ¿¡¤Àý¸®ºÎ¿¡ ±×¶ó¿ìÆ® ÁÖÀÔÀåÄ¡¿¡ ÀÇÇÑ ±×¶ó¿ìÆ®ÀÇ
ÁÖÀÔÀ» ÅëÇØ ¿øÁö¹ÝÀÇ °µµ¸¦ Áõ´ë½ÃŰ´Â °°üÀ» ÀÌ¿ëÇÑ ±×¶ó¿ìÆÃ ¹æ½ÄÀÇ Áö¹Ýº¸°ÀåÄ¡¿¡ ÀÖ¾î¼, »ó±â õ°øÈ¦ÀÇ ³»ºÎ¿¡ »ðÀÔ ¼³Ä¡µÇ¾îÁöµÇ ±× ¿ÜÁָ鿡´Â ³»ºÎ·Î ÁÖÀԵǴ ±×¶ó¿ìÆ®ÀÇ ºÐ»ç°¡ ÀÌ·ç¾îÁö´Â ´Ù¼öÀÇ ºÐ»ç°øÀÌ Çü¼ºµÈ °°ü; »ó±â °°üÀÇ ³»°æ¿¡ ´ëÀÀÇÏ´Â ¿ÜºÎ µÑ·¹¸¦ °®´Â Á÷°æÀ¸·Î Çü¼ºµÇ¾îÁöµÇ °°üÀÇ ³»ºÎ¿¡ »ðÀÔ ¼³Ä¡µÇ¾î °°üÀÇ °¼ºÀ» º¸°ÇÏ´Â ÇÑÆí ¿½ÊÀÚ ¶Ç´Â »ï°¢ÇüÀÇ ÇüÅ·ΠÀÌ·ç¾îÁ® °°üÀÇ ³»ºÎ¸¦ ´Ù¼öÀÇ ¿µ¿ªÀ¸·Î ºÐÇÒÇÏ´Â º¸°Ç÷¹ÀÌÆ®; »ó
±â °°üÀÇ ¼±´Ü ³»ºÎ¿¡ »ðÀÔ ¼³Ä¡µÇ¾îÁöµÇ ¼±´ÜÀÌ °³¹æµÇ¾î »ó±â ±×¶ó¿ìÆ® ÁÖÀÔÀåÄ¡¿¡ ÀÇÇØ ÁÖÀԵǴ ±×¶ó¿ìÆ®ÀÇ À¯ÀÔÀÌ ÀÌ·ç¾îÁö´Â
ÆÄÀÌÇÁ ÇüÅÂÀÇ ¾î´ðÅÍ º»Ã¼¿Í »ó±â ¾î´ðÅÍ º»Ã¼ÀÇ Èĸ鿡 ±¸¼ºµÇ¾îÁöµÇ »ó±â º¸°Ç÷¹ÀÌÆ®¿¡ ÀÇÇØ ºÐÇÒµÈ °°ü ³»ºÎÀÇ ºÐÇÒ¿µ¿ª °¢°¢¿¡
±×¶ó¿ìÆ®ÀÇ ºÐÇÒ ÁÖÀÔÀÌ ÀÌ·ç¾îÁöµµ·Ï ¹è¿ ±¸¼ºµÈ ´Ù¼öÀÇ ±×¶ó¿ìÆ® ÁÖÀÔ°üÀ¸·Î ÀÌ·ç¾îÁø ±×¶ó¿ìÆ® ºÐÇÒ ¾î´ðÅÍ; ¹× »ó±â °°üÀÇ
¼±´ÜºÎ¿¡ ³ª»ç °áÇÕÀ» ÅëÇØ °áÇյǾîÁöµÇ ±×¶ó¿ìÆ® ÁÖÀÔÈ£½º°¡ ¿¬°áµÇ¾î »ó±â ±×¶ó¿ìÆ® ÁÖÀÔÈ£½º¸¦ ÅëÇØ ÁÖÀԵǴ ±×¶ó¿ìÆ®¸¦ »ó±â
±×¶ó¿ìÆ® ºÐÇÒ ¾î´ðÅ͸¦ ÅëÇØ °°ü ³»ºÎ·Î ÁÖÀÔÇÏ´Â ÁÖÀÔÈ£½º Ä¿³ØÅ͸¦ Æ÷ÇÔÇÏ¿© ÀÌ·ç¾îÁø °ÍÀ» Ư¡À¸·Î ÇÏ´Â º¹ÇÕ °°üÀ» ÀÌ¿ëÇÑ
±×¶ó¿ìÆÃ ¹æ½ÄÀÇ Áö¹Ýº¸°ÀåÄ¡.
û±¸Ç×
û±¸Ç× 1Ç×
Åͳα¼Âø ¿¹Á¤´Ü¸éÀ̳ª »ç¸é ¹× ±¸Á¶¹° ±âÃÊ Áö¹Ý¿¡ Á÷õ°øÀ» ÅëÇÑ °°üÀÇ ¼³Ä¡ ¶Ç´Â ÀÏÁ¤ ±íÀÌÀÇ Ãµ°øÈ¦À» Çü¼ºÇÏ¿© »ó±â °°üÀÇ
¼³Ä¡ ÈÄ »ó±â õ°øÈ¦°ú ±× ÁÖº¯ÀÇ À̿Ͽµ¿ª ¹× ±Õ¿¡¤Àý¸®ºÎ¿¡ ±×¶ó¿ìÆ® ÁÖÀÔÀåÄ¡¿¡ ÀÇÇÑ ±×¶ó¿ìÆ®ÀÇ ÁÖÀÔÀ» ÅëÇØ ¿øÁö¹ÝÀÇ °µµ¸¦
Áõ´ë½ÃŰ´Â °°üÀ» ÀÌ¿ëÇÑ ±×¶ó¿ìÆÃ ¹æ½ÄÀÇ Áö¹Ýº¸°ÀåÄ¡¿¡ ÀÖ¾î¼, »ó±â õ°øÈ¦ÀÇ ³»ºÎ¿¡ »ðÀÔ ¼³Ä¡µÇ¾îÁöµÇ ±× ¿ÜÁָ鿡´Â ³»ºÎ·Î ÁÖÀԵǴ ±×¶ó¿ìÆ®ÀÇ ºÐ»ç°¡ ÀÌ·ç¾îÁö´Â ´Ù¼öÀÇ ºÐ»ç°øÀÌ Çü¼ºµÈ °°ü; »ó±â °°üÀÇ ³»°æ¿¡ ´ëÀÀÇÏ´Â ¿ÜºÎ µÑ·¹¸¦ °®´Â Á÷°æÀ¸·Î Çü¼ºµÇ¾îÁöµÇ °°üÀÇ ³»ºÎ¿¡ »ðÀÔ ¼³Ä¡µÇ¾î °°üÀÇ °¼ºÀ» º¸°ÇÏ´Â ÇÑÆí ¿½ÊÀÚ ¶Ç´Â »ï°¢ÇüÀÇ ÇüÅ·ΠÀÌ·ç¾îÁ® °°üÀÇ ³»ºÎ¸¦ ´Ù¼öÀÇ ¿µ¿ªÀ¸·Î ºÐÇÒÇÏ´Â º¸°Ç÷¹ÀÌÆ®; »ó
±â °°üÀÇ ¼±´Ü ³»ºÎ¿¡ »ðÀÔ ¼³Ä¡µÇ¾îÁöµÇ ¼±´ÜÀÌ °³¹æµÇ¾î »ó±â ±×¶ó¿ìÆ® ÁÖÀÔÀåÄ¡¿¡ ÀÇÇØ ÁÖÀԵǴ ±×¶ó¿ìÆ®ÀÇ À¯ÀÔÀÌ ÀÌ·ç¾îÁö´Â
ÆÄÀÌÇÁ ÇüÅÂÀÇ ¾î´ðÅÍ º»Ã¼¿Í »ó±â ¾î´ðÅÍ º»Ã¼ÀÇ Èĸ鿡 ±¸¼ºµÇ¾îÁöµÇ »ó±â º¸°Ç÷¹ÀÌÆ®¿¡ ÀÇÇØ ºÐÇÒµÈ °°ü ³»ºÎÀÇ ºÐÇÒ¿µ¿ª °¢°¢¿¡
±×¶ó¿ìÆ®ÀÇ ºÐÇÒ ÁÖÀÔÀÌ ÀÌ·ç¾îÁöµµ·Ï ¹è¿ ±¸¼ºµÈ ´Ù¼öÀÇ ±×¶ó¿ìÆ® ÁÖÀÔ°üÀ¸·Î ÀÌ·ç¾îÁø ±×¶ó¿ìÆ® ºÐÇÒ ¾î´ðÅÍ; ¹× »ó±â °°üÀÇ
¼±´ÜºÎ¿¡ ³ª»ç °áÇÕÀ» ÅëÇØ °áÇյǾîÁöµÇ ±×¶ó¿ìÆ® ÁÖÀÔÈ£½º°¡ ¿¬°áµÇ¾î »ó±â ±×¶ó¿ìÆ® ÁÖÀÔÈ£½º¸¦ ÅëÇØ ÁÖÀԵǴ ±×¶ó¿ìÆ®¸¦ »ó±â
±×¶ó¿ìÆ® ºÐÇÒ ¾î´ðÅ͸¦ ÅëÇØ °°ü ³»ºÎ·Î ÁÖÀÔÇÏ´Â ÁÖÀÔÈ£½º Ä¿³ØÅ͸¦ Æ÷ÇÔÇÏ¿© ÀÌ·ç¾îÁø °ÍÀ» Ư¡À¸·Î ÇÏ´Â º¹ÇÕ °°üÀ» ÀÌ¿ëÇÑ
±×¶ó¿ìÆÃ ¹æ½ÄÀÇ Áö¹Ýº¸°ÀåÄ¡.
û±¸Ç× 2Ç×
Á¦ 1 Ç׿¡ ÀÖ¾î¼, »ó±â °°üÀÇ ºÐ»ç°øÀº »ó±â º¸°Ç÷¹ÀÌÆ®¿¡ ÀÇÇØ ºÐÇÒµÈ »ó±â °°ü ³»ºÎÀÇ ºÐÇÒ¿µ¿ª °¢°¢¿¡ ´ëÀÀÇÏ´Â À§Ä¡¿¡
Çü¼ºµÇ¾îÁöµÇ »ó±â °°üÀÇ ¼±´ÜºÎ·ÎºÎÅÍ ÈĴܺο¡ ÀÏÁ¤ °£°ÝÀÇ ½ºÅ©·ù ÇüÅÂÀÇ ¹è¿·Î Çü¼ºµÈ °ÍÀ» Ư¡À¸·Î ÇÏ´Â º¹ÇÕ °°üÀ» ÀÌ¿ëÇÑ
±×¶ó¿ìÆÃ ¹æ½ÄÀÇ Áö¹Ýº¸°ÀåÄ¡.
û±¸Ç× 3Ç×
»èÁ¦
û±¸Ç× 4Ç×
»èÁ¦
û±¸Ç× 5Ç×
Á¦ 2 Ç׿¡ ÀÖ¾î¼, »ó±â ÁÖÀÔÈ£½º Ä¿³ØÅÍ´Â »ó±â °°üÀÇ ¼±´ÜºÎ ¿ÜÁÖ¸é »ó¿¡ Çü¼ºµÈ ³ª»çºÎ¿¡ ´ëÀÀÇÏ¿© ³»Áָ鿡 ³ª»çºÎ°¡ Çü¼ºµÇ¾î »ó±â °°üÀÇ ¼±´ÜºÎ¿¡ ³ª»ç °áÇյǴ Ŀ³ØÅÍ º»Ã¼; ¹× »ó±â Ä¿³ØÅÍ º»Ã¼ÀÇ Àü¸é Á߽ɿ¡ ÀÏÁ¤ ±æÀÌ·Î Çü¼ºµÇ¾î »ó±â ±×¶ó¿ìÆ® ÁÖÀÔÀåÄ¡ÀÇ ±×¶ó¿ìÆ® ÁÖÀÔÈ£½ºÀÇ ¿¬°áÀÌ ÀÌ·ç¾îÁö´Â È£½º ¿¬°á°üÀ¸·Î ÀÌ·ç¾îÁø °ÍÀ» Ư¡À¸·Î ÇÏ´Â º¹ÇÕ °°üÀ» ÀÌ¿ëÇÑ ±×¶ó¿ìÆÃ ¹æ½ÄÀÇ Áö¹Ýº¸°ÀåÄ¡.
û±¸Ç× 6Ç×
Á¦ 1 Ç×, Á¦ 2 Ç× ¶Ç´Â Á¦ 5 Ç× Áß ¾î´À ÇÑ Ç׿¡ ÀÖ¾î¼, »ó±â °°ü¿¡ Çü¼ºµÈ ºÐ»ç°ø °¢°¢ÀÇ ¿ÜÃøÀÎ °°üÀÇ ¿ÜÁÖ¸é »ó¿¡
»ó±â ºÐ»ç°øÀ» Ä¿¹öÇÏ¿© Á÷õ°ø¿¡ ÀÇÇÑ °°üÀÇ ¼³Ä¡ ¶Ç´Â »ó±â °°üÀ» õ°øÈ¦ »ó¿¡ »ðÀԽà À̹°ÁúÀÇ À¯ÀÔÀ» ¹æÁöÇÏ´Â ÇÑÆí »ó±â
±×¶ó¿ìÆ®ÀÇ ÁÖÀԽà »ó±â °°üÀÇ ³»ºÎ¸¦ ÃæÁøÇÑ ÈÄ °¡¾ÐµÇ´Â ¾Ð·Â¿¡ ÀÇÇØ ÅÍÁ® »ó±â °°ü ³»ºÎÀÇ ±×¶ó¿ìÆ®°¡ õ°øÈ¦ ³»ºÎ·Î ºÐÃâµÇµµ·Ï
ÇÏ´Â ºÐ»ç°ø Ä¿¹ö Å×ÀÌÇÁ°¡ ´õ ±¸¼ºµÈ °ÍÀ» Ư¡À¸·Î ÇÏ´Â º¹ÇÕ °°üÀ» ÀÌ¿ëÇÑ ±×¶ó¿ìÆÃ ¹æ½ÄÀÇ Áö¹Ýº¸°ÀåÄ¡.
û±¸Ç× 7Ç×
Á¦ 6 Ç׿¡ ÀÖ¾î¼, »ó±â °°üÀÇ ±æÀÌ ¹æÇâ ¿ÜÁָ鿡´Â ÀÏÁ¤ °£°ÝÀ¸·Î ´Ù¼ö ¼³Ä¡µÇ¾î »ó±â °°üÀÌ »ó±â õ°øÈ¦ÀÇ Á߾Ӻο¡
À§Ä¡µÇµµ·Ï »ó±â °°üÀÇ ¿ÜÁÖ¸é°ú õ°øÈ¦ÀÇ ³»ÁÖ¸é °£°ÝÀ» À¯Áö½ÃŰ´Â °£°ÝÀ¯ÁöºÎÀç°¡ ´õ ±¸¼ºµÈ °ÍÀ» Ư¡À¸·Î ÇÏ´Â º¹ÇÕ °°üÀ» ÀÌ¿ëÇÑ
±×¶ó¿ìÆÃ ¹æ½ÄÀÇ Áö¹Ýº¸°ÀåÄ¡.
û±¸Ç× 8Ç×
Á¦ 7 Ç׿¡ ÀÖ¾î¼, »ó±â °£°ÝÀ¯ÁöºÎÀç´Â »ó±â °°üÀÇ ¿ÜÁָ鿡 ´ëÀÀÇÏ´Â °î¼±¸éÀ¸·Î ¸éøÃËµÇ¾î ¿ëÁ¢À» ÅëÇØ »ó±â °°üÀÇ ¿ÜÁָ鿡 °áÇյǴ ¹ÞħºÎÀç; »ó
±â ¹ÞħºÎÀçÀÇ »óºÎ¸é »ó¿¡ ÀÏÁ¤ °£°ÝÀ¸·Î ÀÌ°Ý µ¹ÃâµÇ¾îÁöµÇ »ó±â õ°øÈ¦ÀÇ ³»Ãø ¹æÇâÀ¸·Î ÇÏÇâ °æ»ç·Î Çü¼ºµÇ¾î »ó±â °°üÀÌ »ó±â
õ°øÈ¦ÀÇ Á߾Ӻο¡ À§Ä¡µÇµµ·Ï »ó±â °°üÀÇ ¿ÜÁÖ¸é°ú õ°øÈ¦ÀÇ ³»ÁÖ¸é »çÀÌÀÇ °£°ÝÀ» À¯Áö½ÃŰ´Â ÇÑÆí »ó±â °°üÀ» »ó±â õ°øÈ¦¿¡
»ðÀԽÿ¡´Â °É¸²¾øÀÌ »ðÀÔµÇ°í ¿ª¹æÇâ¿¡ ´ëÇØ¼´Â °É¸²ÀÌ ÀÌ·ç¾îÁú ¼ö ÀÖµµ·Ï ÇÏ´Â ½û±âºÎÀç; ¹× »ó±â ½û±âºÎÀçÀÇ »óºÎÃø ´ëÇâ¸é ³»Ãø¿¡ »óÈ£ ´ëÇâµÇ°Ô µ¹Ãâ Çü¼ºµÇ´Â ºÐ»ç°ø º¸È£ºÎÀç·Î ÀÌ·ç¾îÁø °ÍÀ» Ư¡À¸·Î ÇÏ´Â º¹ÇÕ °°üÀ» ÀÌ¿ëÇÑ ±×¶ó¿ìÆÃ ¹æ½ÄÀÇ Áö¹Ýº¸°ÀåÄ¡.
û±¸Ç× 9Ç×
Á¦ 8 Ç׿¡ ÀÖ¾î¼, »ó±â °£°ÝÀ¯ÁöºÎÀç´Â »ó±â °°üÀÇ ¿ÜÁָ鿡 ÀÏÁ¤ °£°ÝÀ¸·Î ¼³Ä¡µÇ¾îÁöµÇ »ó±â ºÐ»ç°ø º¸È£ºÎÀç°¡ »ó±â °°üÀÇ
¿ÜÁÖ¸é »ó¿¡ Çü¼ºµÈ »ó±â ºÐ»ç°øÀÇ »óºÎÃø¿¡ À§Ä¡µÇµµ·Ï ¼³Ä¡µÇ´Â °ÍÀ» Ư¡À¸·Î ÇÏ´Â º¹ÇÕ °°üÀ» ÀÌ¿ëÇÑ ±×¶ó¿ìÆÃ ¹æ½ÄÀÇ
Áö¹Ýº¸°ÀåÄ¡.
û±¸Ç× 10Ç×
Á¦ 7 Ç׿¡ ÀÖ¾î¼, »ó±â °£°ÝÀ¯ÁöºÎÀç´Â ±æÀÌ ¹æÇâ ¾ç´ÜÀÌ »ó±â °°ü¿¡ ´ëÀÀÇÏ´Â °î¸é ÇüÅ·ΠÇü¼ºµÇ¾î ¿ëÁ¢À» ÅëÇØ »ó±â °°üÀÇ ¿ÜÁÖ¸é »ó¿¡ °íÁ¤µÇ´Â °íÁ¤ºÎ; ¹× »ó
±â ¾ç´ÜÀÇ °íÁ¤ºÎ »çÀÌ¿¡ ¿ÜÃøÀ¸·Î º¼·ÏÇÏ°Ô Çü¼ºµÇ¾î »ó±â °íÁ¤ºÎ¿Í ÀÏü·Î ÀÌ·ç¾îÁöµÇ »ó±â °°üÀÌ »ó±â õ°øÈ¦ÀÇ Á߾Ӻο¡ À§Ä¡µÇµµ·Ï
»ó±â °°üÀÇ ¿ÜÁÖ¸é°ú õ°øÈ¦ÀÇ ³»ÁÖ¸é »çÀÌÀÇ °£°ÝÀ» À¯Áö½ÃŰ´Â °£°ÝÀ¯ÁöºÎ·Î ÀÌ·ç¾îÁø °ÍÀ» Ư¡À¸·Î ÇÏ´Â º¹ÇÕ °°üÀ» ÀÌ¿ëÇÑ
±×¶ó¿ìÆÃ ¹æ½ÄÀÇ Áö¹Ýº¸°ÀåÄ¡.
û±¸Ç× 11Ç×
Åͳα¼Âø ¿¹Á¤´Ü¸éÀ̳ª »ç¸é ¹× ±¸Á¶¹° ±âÃÊ Áö¹Ý¿¡ Á÷õ°øÀ» ÅëÇÑ °°üÀÇ ¼³Ä¡ ¶Ç´Â ÀÏÁ¤ ±íÀÌÀÇ Ãµ°øÈ¦À» Çü¼ºÇÏ¿© »ó±â õ°øÈ¦¿¡
°°üÀ» ¼³Ä¡ÇÑ ÈÄ »ó±â °°üÀ» ÅëÇØ »ó±â õ°øÈ¦°ú ±× ÁÖº¯ÀÇ À̿Ͽµ¿ª ¹× ±Õ¿¡¤Àý¸®ºÎ¿¡ ±×¶ó¿ìÆ®¸¦ ÁÖÀÔÇÏ¿© ¿øÁö¹ÝÀÇ °µµ¸¦
Áõ´ë½ÃŰ´Â °°üÀ» ÀÌ¿ëÇÑ ±×¶ó¿ìÆÃ ¹æ½ÄÀÇ Áö¹Ýº¸°°ø¹ý¿¡ ÀÖ¾î¼, »ó±â °°üÀÇ ³»ºÎ¿¡ ÀÏÁ¤ ±æÀÌÀÇ ¿½ÊÀÚ ¶Ç´Â »ï°¢Çü ÇüÅÂÀÇ
º¸°Ç÷¹ÀÌÆ®¸¦ »ðÀÔ ¼³Ä¡ÇÏ¿© »ó±â °°üÀÇ °¼ºÀ» º¸°Ç쵂 »ó±â °°ü ¼±´ÜºÎ ³»ºÎ¿¡ »ðÀÔ ¼³Ä¡µÇ¾î »ó±â ±×¶ó¿ìÆ® ÁÖÀÔÀåÄ¡¿¡ ÀÇÇØ
ÁÖÀԵǴ ±×¶ó¿ìÆ®¸¦ »ó±â º¸°Ç÷¹ÀÌÆ®¿¡ ÀÇÇØ ºÐÇÒµÈ »ó±â °°ü ³»ºÎÀÇ ºÐÇÒ¿µ¿ª °¢°¢¿¡ ºÐÇÒ ÁÖÀÔÇÏ´Â ±×¶ó¿ìÆ® ºÐÇÒ ¾î´ðÅÍ¿Í »ó±â
°°üÀÇ ¼±´ÜºÎ¿¡ ³ª»ç °áÇÕÀ» ÅëÇØ °áÇյǾîÁöµÇ ±×¶ó¿ìÆ® ÁÖÀÔÈ£½º°¡ ¿¬°áµÇ¾î »ó±â ±×¶ó¿ìÆ® ÁÖÀÔÈ£½º¸¦ ÅëÇØ ÁÖÀԵǴ ±×¶ó¿ìÆ®¸¦ »ó±â
±×¶ó¿ìÆ® ºÐÇÒ ¾î´ðÅ͸¦ ÅëÇØ »ó±â °°ü ³»ºÎ·Î ÁÖÀÔÇÏ´Â ÁÖÀÔÈ£½º Ä¿³ØÅÍÀÇ ±¸¼ºÀ» ÅëÇØ »ó±â º¸°Ç÷¹ÀÌÆ®¿¡ ÀÇÇØ ºÐÇÒµÈ »ó±â °°ü
³»ºÎÀÇ ºÐÇÒ°ø°£À¸·Î »ó±â ±×¶ó¿ìÆ®ÀÇ µ¿½ÃÁÖÀÔÀÌ °¡´ÉÇϵµ·Ï ÇÏ´Â ÇÑÆí, »ó±â °°ü¿¡ Çü¼ºµÈ ºÐ»ç°ø °¢°¢ÀÇ ¿ÜÃøÀÎ °°üÀÇ
¿ÜÁÖ¸é »ó¿¡ »ó±â ºÐ»ç°øÀ» Ä¿¹öÇÏ´Â ºÐ»ç°ø Ä¿¹ö Å×ÀÌÇÁ°¡ ´õ ±¸¼ºµÇ¾î Á÷õ°ø¿¡ ÀÇÇÑ °°üÀÇ ¼³Ä¡ ¶Ç´Â »ó±â °°üÀ» õ°øÈ¦ »ó¿¡
»ðÀԽà À̹°ÁúÀÇ À¯ÀÔÀ» ¹æÁöÇÏ´Â ÇÑÆí »ó±â ±×¶ó¿ìÆ®ÀÇ ÁÖÀԽà »ó±â °°üÀÇ ³»ºÎ¸¦ ÃæÁøÇÑ ÈÄ °¡¾ÐµÇ´Â ¾Ð·Â¿¡ ÀÇÇØ ÅÍÁ® »ó±â °°ü
³»ºÎÀÇ ±×¶ó¿ìÆ®°¡ õ°øÈ¦ ³»ºÎ·Î ºÐÃâµÇµµ·Ï ÇÑ °ÍÀ» Ư¡À¸·Î ÇÏ´Â º¹ÇÕ °°üÀ» ÀÌ¿ëÇÑ ±×¶ó¿ìÆÃ ¹æ½ÄÀÇ Áö¹Ýº¸°¹æ¹ý.
û±¸Ç× 12Ç×
»èÁ¦
û±¸Ç× 13Ç×
Á¦ 11 Ç׿¡ ÀÖ¾î¼, »ó±â °°üÀÇ ±æÀÌ ¹æÇâ ¿ÜÁָ鿡´Â ÀÏÁ¤ °£°ÝÀ¸·Î °£°ÝÀ¯ÁöºÎÀç°¡ ´Ù¼ö ¼³Ä¡µÇ¾î »ó±â °°üÀÌ »ó±â õ°øÈ¦ÀÇ
Á߾Ӻο¡ À§Ä¡µÇµµ·Ï »ó±â °°üÀÇ ¿ÜÁÖ¸é°ú õ°øÈ¦ÀÇ ³»ÁÖ¸é °£°ÝÀ» À¯Áö½ÃŰ´Â °ÍÀ» Ư¡À¸·Î ÇÏ´Â º¹ÇÕ °°üÀ» ÀÌ¿ëÇÑ ±×¶ó¿ìÆÃ
¹æ½ÄÀÇ Áö¹Ýº¸°¹æ¹ý.
¿ä¾à
º» ¹ß¸íÀº º¹ÇÕ °°üÀ» ÀÌ¿ëÇÑ ±×¶ó¿ìÆÃ ¹æ½ÄÀÇ Áö¹Ýº¸°ÀåÄ¡ ¹× À̸¦ ÅëÇÑ Áö¹Ýº¸°°ø¹ý¿¡ °üÇÑ
°ÍÀ¸·Î, °°ü ³»ºÎ¿¡ ¿½ÊÀÚ ¶Ç´Â »ï°¢Çü ÇüÅ·ΠÁ¦ÀÛµÈ ÀÏÁ¤±æÀÌÀÇ º¸°Ç÷¹ÀÌÆ®¸¦ ¼³Ä¡ÇÔÀ¸·Î½á °°üÀÇ °¼ºÀ» Áõ´ëÇâ»ó½Ãų ¼ö ÀÖµµ·Ï
ÇÏ¿© Áö¹ÝÀÇ °µµ¸¦ Çâ»ó½Ãų ¼ö ÀÖµµ·Ï ÇÔ¿¡ ±× ¸ñÀûÀÌ ÀÖ´Ù. À̸¦ À§ÇØ ±¸¼ºµÇ´Â º» ¹ß¸íÀº Åͳα¼Âø ¿¹Á¤´Ü¸éÀ̳ª »ç¸é ¹×
±¸Á¶¹° ±âÃÊ Áö¹Ý¿¡ Á÷õ°øÀ» ÅëÇÑ °°üÀÇ ¼³Ä¡ ¶Ç´Â ÀÏÁ¤ ±íÀÌÀÇ Ãµ°øÈ¦À» Çü¼ºÇÏ¿© °°üÀÇ ¼³Ä¡ ÈÄ Ãµ°øÈ¦°ú ±× ÁÖº¯ÀÇ À̿Ͽµ¿ª ¹×
±Õ¿¡¤Àý¸®ºÎ¿¡ ±×¶ó¿ìÆ® ÁÖÀÔÀåÄ¡¿¡ ÀÇÇÑ ±×¶ó¿ìÆ®ÀÇ ÁÖÀÔÀÌ ÀÌ·ç¾îÁöµµ·Ï ÇÔÀ¸·Î½á ¿øÁö¹ÝÀÇ °µµ¸¦ Áõ´ë½ÃŰ´Â °°üÀ» ÀÌ¿ëÇÑ ±×¶ó¿ìÆÃ
¹æ½ÄÀÇ Áö¹Ýº¸°ÀåÄ¡¿¡ ÀÖ¾î¼, õ°øÈ¦ÀÇ ³»ºÎ¿¡ »ðÀÔ ¼³Ä¡µÇ¾îÁöµÇ ±× ¿ÜÁָ鿡´Â ³»ºÎ·Î ÁÖÀԵǴ ±×¶ó¿ìÆ®ÀÇ ºÐ»ç°¡ ÀÌ·ç¾îÁö´Â
´Ù¼öÀÇ ºÐ»ç°øÀÌ Çü¼ºµÈ °°ü; °°üÀÇ ³»°æ¿¡ ´ëÀÀÇÏ´Â ¿ÜºÎ µÑ·¹¸¦ °®´Â Á÷°æÀ¸·Î Çü¼ºµÇ¾îÁöµÇ °°üÀÇ ³»ºÎ¿¡ »ðÀÔ ¼³Ä¡µÇ¾î °°üÀÇ
°¼ºÀ» º¸°ÇÏ´Â ÇÑÆí °°üÀÇ ³»ºÎ¸¦ ´Ù¼öÀÇ ¿µ¿ªÀ¸·Î ºÐÇÒÇÏ´Â º¸°Ç÷¹ÀÌÆ®; °°üÀÇ ¼±´Ü ³»ºÎ¿¡ »ðÀÔ ¼³Ä¡µÇ¾î ±×¶ó¿ìÆ® ÁÖÀÔÀåÄ¡¿¡
ÀÇÇØ ÁÖÀԵǴ ±×¶ó¿ìÆ®¸¦ º¸°Ç÷¹ÀÌÆ®¿¡ ÀÇÇØ ºÐÇÒµÈ °°ü ³»ºÎÀÇ ºÐÇÒ¿µ¿ª °¢°¢¿¡ ºÐÇÒ ÁÖÀÔÇÏ´Â ±×¶ó¿ìÆ® ºÐÇÒ ¾î´ðÅÍ; ¹× °°üÀÇ
¼±´ÜºÎ¿¡ ³ª»ç °áÇÕÀ» ÅëÇØ °áÇյǾîÁöµÇ ±×¶ó¿ìÆ® ÁÖÀÔÈ£½º°¡ ¿¬°áµÇ¾î ±×¶ó¿ìÆ® ÁÖÀÔÈ£½º¸¦ ÅëÇØ ÁÖÀԵǴ ±×¶ó¿ìÆ®¸¦ ºÐÇÒÇÏ´Â ±×¶ó¿ìÆ®
ºÐÇÒ ¾î´ðÅ͸¦ ÅëÇØ °°ü ³»ºÎ·Î ÁÖÀÔÇÏ´Â ÁÖÀÔÈ£½º Ä¿³ØÅ͸¦ Æ÷ÇÔÇÑ ±¸¼ºÀ¸·Î ÀÌ·ç¾îÁø´Ù.
|