ȸ»ç¼Ò°³
Company
Àλ縻
¿¬Çõ
Á¶Á÷µµ
»ç¾÷ºÐ¾ß
ƯÇã ¹× ÀÎÁõ
ÀÚ°Ý ¹× ¸éÇã
º¸À¯ÀåºñÇöȲ
¿À½Ã´Â±æ
º¸À¯°ø¹ý¼Ò°³
Introduce
ģȯ°æ ºñÅ»¸éº¸° °ø¹ý
ģȯ°æ ÅͳΠ°³·® °ø¹ý
ģȯ°æ Áö¹Ýº¸° ¹× °³·® °ø¹ý
¼³°è/ÄÁ¼³ÆÃ
Consulting
ºñÅ»¸é ¾ÈÁ¤¼º °ËÅä
ÅͳΠ¾ÈÁ¤¼º °ËÅä
±âÃÊ ¹× Áö¹Ý ¾ÈÁ¤¼º °ËÅä
°¡½Ã¼³(È븷ÀÌ) ¼³°è
¼³°è ¹× ½Ã°ø½ÇÀû
Results
¼³°è½ÇÀû
½Ã°ø½ÇÀû
½Ã°øÆ÷Åä°¶·¯¸®
±â¼ú°³¹ß/ÀÚ·á½Ç
Download
°ø¹ý ¼Ò°³ Ä«´Þ·Î±× ´Ù¿î·Îµå
°ø¹ý »ó¼¼µµ¸é ´Ù¿î·Îµå
±â¼úÀÚ·á
°í°´¼¾ÅÍ
Customer
°øÁö»çÇ×
°ßÀûÀÇ·Ú
°í°´¹®ÀÇ
ģȯ°æ Áö¹Ýº¸°À» À§ÇÑ Á¶»ç, ¼³°è, ½Ã°øÀº
ÆòÈÁö¿ÀÅØ(ÁÖ)
¿¡¼ Ã¥ÀÓÁö°Ú½À´Ï´Ù.
Company
ȸ»ç¼Ò°³
Àλ縻
¿¬Çõ
Á¶Á÷µµ
»ç¾÷ºÐ¾ß
ƯÇã ¹× ÀÎÁõ
ÀÚ°Ý ¹× ¸éÇã
º¸À¯ÀåºñÇöȲ
¿À½Ã´Â±æ
°í°´¹®ÀÇ
031-744-3456
Hours
AM 09:00 ~ PM 06:00
°ø¹ý¼Ò°³ Ä«´Þ·Î±× / Download
Home > Company
¤ý
¸íĪ
¿µ±¸Çü¾ÞÄ¿
¤ý
ºÐ ·ù
ƯÇãÃâ¿øÇöȲ
¤ý
÷ºÎ#1
bfb5b1b8c7fcbedec4ab100819536281b8e929.jpg
(1,672KB) (Down:44)
¤ý
÷ºÎ#2
remotefiledo.jpg
(1,892KB) (Down:34)
¤ý
µî·Ï¹øÈ£
Á¦10-0819536È£
¤ý
µî·ÏÀÏ
2008.03.28
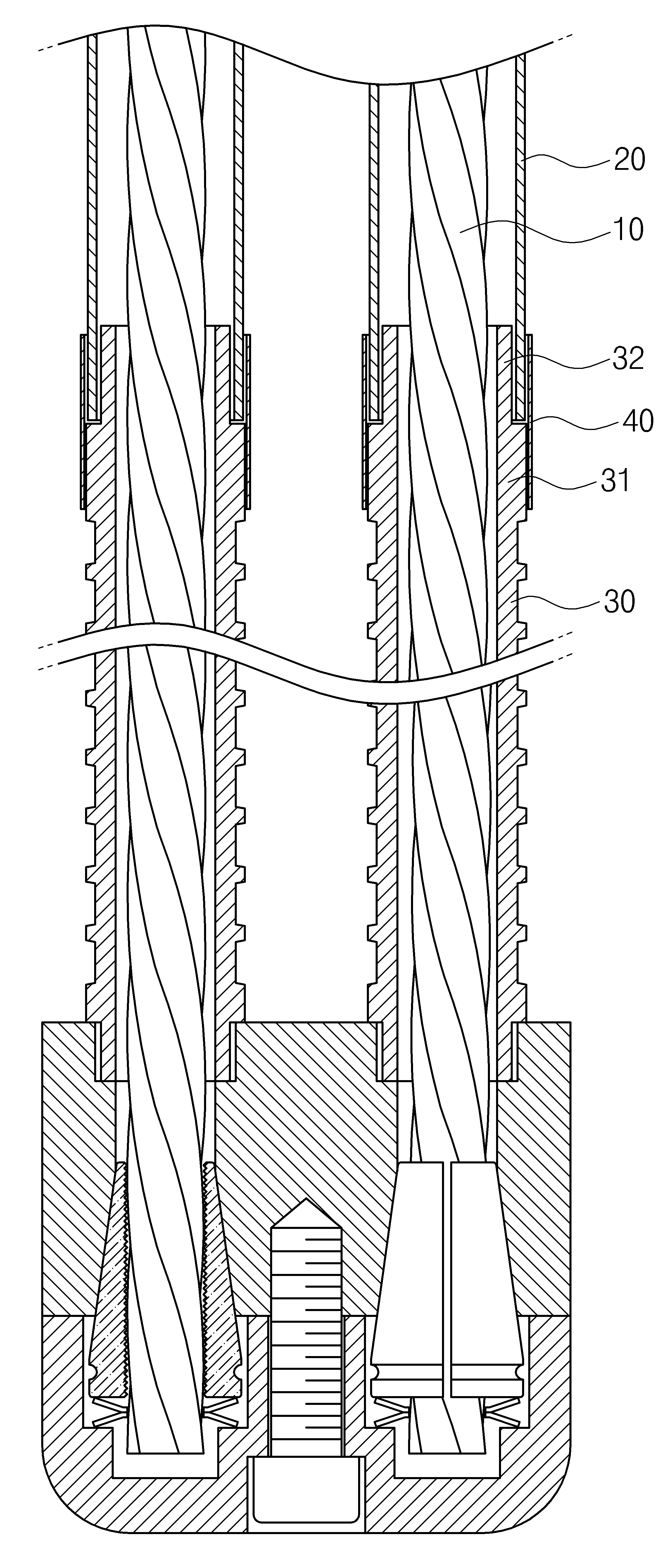
º» ¹ß¸íÀº ¿µ±¸Çü ¾ÞÄ¿¿¡ °üÇÑ °ÍÀ¸·Î, Á¤Âø·ÂÀÌ ³ôÀ» »Ó¸¸ ¾Æ´Ï¶ó Áö¸§ÀÌ À۾Ƽ ¼³Ä¡ÀÛ¾÷ÀÇ È¿À²À» Çâ»ó½Ã۱â À§ÇÏ¿©, ³»ÇÏÁ¤ÂøºÎ Çìµå¿Í Á¤ÂøÃ¼·Î ÀÌ·ç¾îÁö´Â ³»ÇÏÁ¤ÂøºÎ¿Í, ¸öÅëºÎ, ¹× ¾ÞÄ¿µÎºÎ·Î ÀÌ·ç¾îÁö°í ±× ³»ºÎ¿¡´Â ¿©·¯ °³ÀÇ °¿¬¼±À» Æ÷ÇÔÇÏ´Â ¿µ±¸Çü ¾ÞÄ¿¿¡ ÀÖ¾î¼, »ó±â Á¤ÂøÃ¼´Â ¿ÜÁָ鿡 ¿äöÀÌ Çü¼ºµÈ ½ºÆ¿ÀçÁúÀÇ Á¤ÂøÃ¼ ÆÄÀÌÇÁ°¡ »ó±â °¿¬¼±À» °¢°¢ º°µµ·Î °¨½Î°í ÀÖ´Â ±¸Á¶ÀÎ °ÍÀ» Ư¡À¸·Î ÇÑ´Ù.
¶ÇÇÑ, ¹æ½Ä ¹× ¹æ¼ö¡¤Â÷¼öÀÇ ±â´ÉÀ» Çâ»ó½Ã۱â À§ÇÏ¿©, ¸öÅëºÎ¿¡¼ °¿¬¼±À» °¨½Î´Â º¸È£ ÆÄÀÌÇÁ¿Í ±× ¿¬°á±¸Á¶¸¦ ±¸ºñÇÏ´Â °ÍÀ» Ư¡À¸·Î ÇÑ´Ù.
Ä«Å×°í¸® Àüü (24)
ƯÇãÃâ¿øÇöȲ (21)
½Ç¿ë½Å¾Èµî·Ï (1)
¿¬±¸°³¹ßÀü´ãºÎ¼ (0)
½Å±â¼úÁöÁ¤Áõ¼ (1)
¼ºñ½ºÇ¥µî·ÏÁõ (1)
No.
ºÐ·ù
¸íĪ
µî·Ï¹øÈ£
µî·ÏÀÏ
24
ƯÇãÃâ¿øÇöȲ
ÆÐ³Î¿¡ ¿¬°áÇÏ´Â ½îÀϳ×Àϸµ ºñÅ»¸é º¸° ½Ã½ºÅÛ
Á¦ 10-2079570 È£
2020.02.14
23
ƯÇãÃâ¿øÇöȲ
¾ÐÃึÂûÇü ¾ÞÄ¿ ÆÐ³Î Áö¹Ý º¸° ½Ã½ºÅÛ
Á¦ 10-2079563 È£
2020.02.14
22
ƯÇãÃâ¿øÇöȲ
ÆÐ³Î°ú º¹ÇÕ°°üÀ» ÀÌ¿ëÇÑ ±ð±âºñÅ»¸é Áö¹Ýº¸°½Ã½ºÅÛ
Á¦ 10-2079330 È£
2020.02.13
21
ƯÇãÃâ¿øÇöȲ
ÅëÇü»ó ºÎÀç·Î ÀÌ·ç¾îÁø ¾ÞĿü¸¦ ±¸ºñÇÏ¿© Ãø¸éÈ®Àå ¹üÀ§¸¦ ±Ø´ë..
Á¦ 10-1845479 È£
2018.03.29
20
ƯÇãÃâ¿øÇöȲ
õ°øÈ¦À» ÀÌ¿ëÇÑ ÅͳΠ¼³ºñ Ãà¼Ò¹æ¹ý
Á¦10-1592408È£
2016.02.01
19
ƯÇãÃâ¿øÇöȲ
ȯ°æÄ£ÈÀû Áö¹Ý º¸° ¸ðµâ ¼³Ä¡¹æ¹ý
Á¦10-1374297È£
2014.03.07
18
ƯÇãÃâ¿øÇöȲ
PC°¿¬¼±À» ÀÌ¿ëÇÑ ±×¶ó¿îµå ¾ÞÄ¿ ±¸Á¶
Á¦10-1257858È£
2013.04.18
17
½Å±â¼úÁöÁ¤Áõ¼
Àü´Üº¸°À縦 »ðÀÔÇÑ º¹ÇÕ°°ü ¾Ð·Â½Ä ³×Àϸµ °ø¹ý
Á¦673È£
2012.10.08
16
ƯÇãÃâ¿øÇöȲ
¿¬¼º°üÀ» ÀÌ¿ëÇÑ ¿¬Á÷ ¹è¼öÇü ģȯ°æ °è´Ü½Ä ¿Ëº®
Á¦10-1081564È£
2011.11.02
15
ƯÇãÃâ¿øÇöȲ
±×¶ó¿ìÆÃÀç ÁÖÀÔÀåÄ¡ ¹× À̸¦ ÀÌ¿ëÇÑ ±×¶ó¿ìÆÃÀç ÁÖÀÔ¹æ¹ý
Á¦10-1011785È£
2011.01.24
14
ƯÇãÃâ¿øÇöȲ
º¹ÇÕ ½îÀϳ×Àϸµ Áö¹Ýº¸°ÀåÄ¡ ¹× À̸¦ ÀÌ¿ëÇÑ º¹ÇÕ ½îÀϳ×Àϸµ°ø..
Á¦10-0937237È£
2010.01.08
13
ƯÇãÃâ¿øÇöȲ
Åä¾ç ¾ÈÁ¤ ¹× °³·®Á¦¸¦ ÀÌ¿ëÇÑ »ç¸éº¸È£ ½Ã°ø¹æ¹ý
Á¦10-0921711È£
2009.10.07
12
ƯÇãÃâ¿øÇöȲ
º¸°Åä RC¿Ëº®
Á¦10-0890828È£
2009.03.20
11
ƯÇãÃâ¿øÇöȲ
°æÈÁ¦ Á¦Á¶ÀåÄ¡¿Í ½½¶óÀÓ Àçó¸®ÀåÄ¡¸¦ ÀÌ¿ëÇÑ °í¾ÐºÐ»çÁö¹Ý°³·®..
Á¦10-0886220È£
2009.02.23
10
¼ºñ½ºÇ¥µî·ÏÁõ
SSJ
Á¦41-0180414È£
2009.01.22
9
½Ç¿ë½Å¾Èµî·Ï
º¸°Åä ¿Ëº®¿ë LÀÚÇüÁöÁö °ÀçÆ²
Á¦20-0443257È£
2009.01.21
8
ƯÇãÃâ¿øÇöȲ
´Ù¹ß°°üÀ» ÀÌ¿ëÇÑ ±×¶ó¿ìÆÃ ¹æ½ÄÀÇ Áö¹Ýº¸°ÀåÄ¡ ¹× À̸¦ÅëÇÑ Áö..
Á¦10-0869369È£
2008.11.12
7
ƯÇãÃâ¿øÇöȲ
½Ç¸®Ä«Á¹ ÀÚµ¿Á¦Á¶ÀåÄ¡¸¦ ÀÌ¿ëÇÑ Áö¹Ý °¡¾ÐÁÖÀÔ º¸°¹æ¹ý
Á¦10-0855306È£
2008.08.25
6
ƯÇãÃâ¿øÇöȲ
¿µ±¸Çü ¾ÞÄ¿
Á¦10-0819538È£
2008.03.28
5
ƯÇãÃâ¿øÇöȲ
¿µ±¸Çü¾ÞÄ¿
Á¦10-0819536È£
2008.03.28
4
ƯÇãÃâ¿øÇöȲ
º¹ÇÕ °°üÀ» ÀÌ¿ëÇÑ ±×¶ó¿ìÆÃ ¹æ½ÄÀÇ Áö¹Ýº¸°ÀåÄ¡ ¹× À̸¦ÅëÇÑ ..
Á¦10-0772684È£
2007.10.26
3
ƯÇãÃâ¿øÇöȲ
ÇöÀåÁ¦Á¶ ½Ç¸®Ä« Á¹À» ÀÌ¿ëÇÑ °í¾ÐºÐ»ç Áö¹Ý°³·®°ø¹ý
Á¦10-0671486È£
2007.01.12
2
ƯÇãÃâ¿øÇöȲ
¼¶À¯Æ÷´ë¿Í ±×¶ó¿ìÆÃ°üÀ» ÀÌ¿ëÇÑ ±×¶ó¿ìÆÃ ±¸Á¶Ã¼ ¹× À̸¦ ÀÌ¿ëÇÑ..
Á¦10-0623242È£
2006.09.05
1
ƯÇãÃâ¿øÇöȲ
½ºÇÁ¸µ³»Àå Á¦°ÅÇü ¾î½º¾ÞÄ¿
Á¦10-0403280È£
2003.10.14
1
24
PYONGHWA GEOTEC CO.,LTD.
ÆòÈÁö¿ÀÅØ ÁÖ½Äȸ»ç ´ëÇ¥ÀÌ»ç : ¹ÚÁ¾È£ »ç¾÷ÀÚµî·Ï¹øÈ£ : 212-81-74934
º»»ç : ºÎ»ê±¤¿ª½Ã µ¿±¸ Áß¾Ó´ë·Î 169, 1203È£ Tel : 051-442-3456 Fax : 051-442-1001
°æ±âÁö»ç : °æ±âµµ Çϳ²½Ã ¹Ì»ç´ë·Î 510, 812È£, 813È£ Tel : 031-744-3456 Fax : 031-795-0133, 0155
Copyright¨Ï
PYONGHWA GEOTEC
. All Rights Reserved.