

´ëǥû±¸Ç×
±×¶ó¿ìÆ®Àç(10)¸¦ ±×¶ó¿ìÆÃ ÀåÄ¡¿¡ ÁÖÀÔÇÏ¿© Áö¹ÝÀ» °³·®ÇÏ´Â °ø¹ý¿¡ ÀÖ¾î¼, »ó±â
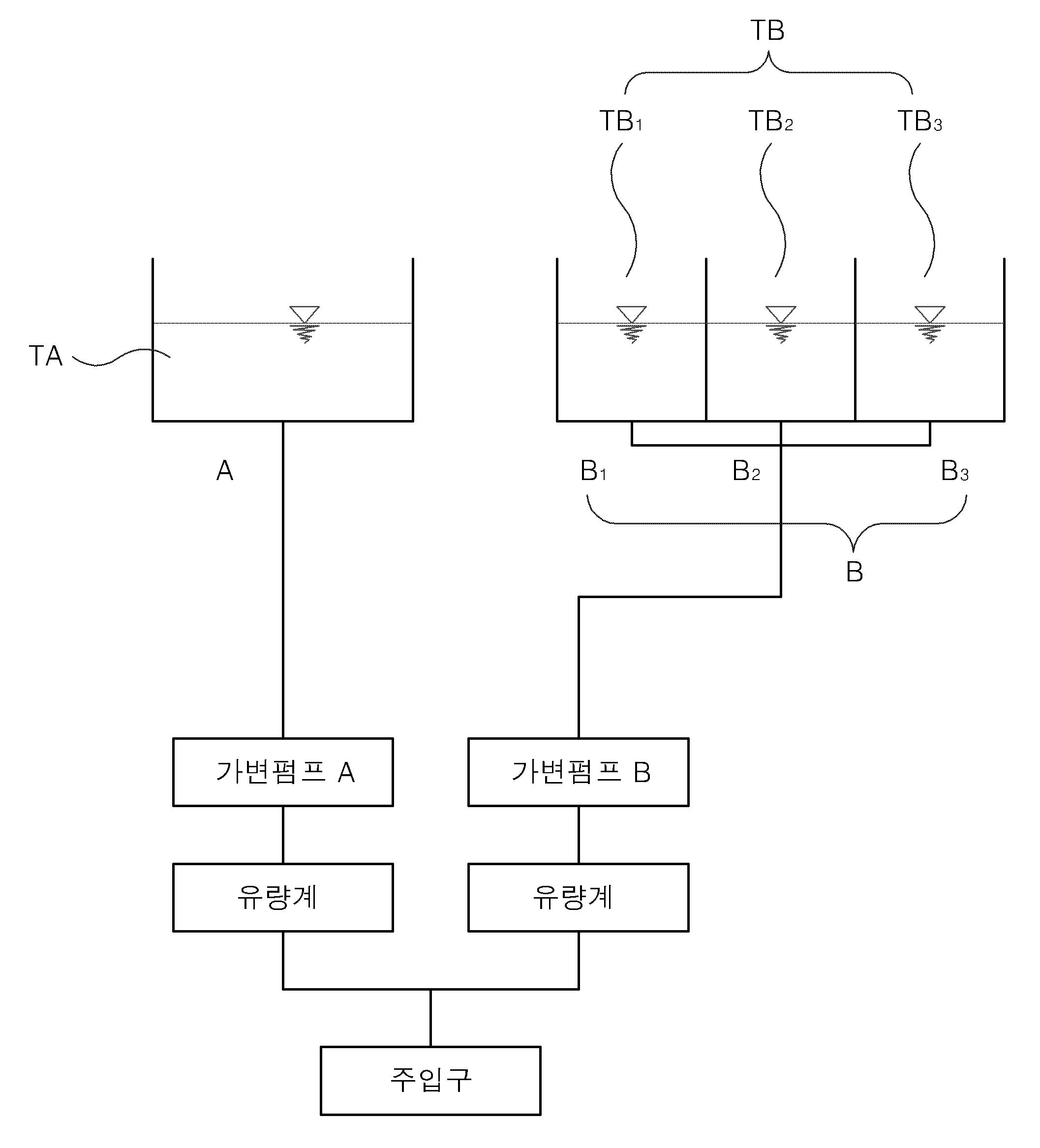
±×¶ó¿ìÆ®Àç(10)´Â ½Ç¸®Ä«Á¹ ÀÚµ¿Á¦Á¶ÀåÄ¡¿¡ ÀÇÇØ Á¦Á¶µÈ A¾×°ú ÇöŹ¾× ¶Ç´Â °ÖȹÝÀÀÁ¦·Î ÀÌ·ç¾îÁø B¾×À¸·Î ±¸¼ºÇϰí, »ó±â A¾×°ú
B¾×À» °¢°¢ÀÇ °¡º¯ÆßÇÁ¸¦ ÀÌ¿ëÇÏ¿© Áö¹ÝÁ¶°Ç¿¡ ¾Ë¸ÂÀº ±×¶ó¿ìÆ®Àç(10) ·®À» Á¶Á¤ÇÏ¿©, ÀÌÁß°ü ·Îµå ¶Ç´Â º°µµÀÇ ÁÖÀÔÈ£½º°¡ ±¸ºñµÈ
±×¶ó¿ìÆÃ ÀåÄ¡¸¦ ÅëÇØ¼ ÁÖÀÔ¼±´ÜÀåÄ¡(A)¿¡¼ °¢°¢ ÁÖÀÔ ¶Ç´Â ¿À¸®Çǽº³ëÁñ(20)·Î ºÐ»çÈ¥ÇÕÇÏ¿© Áö¹Ý(G)À» °³·®ÇϵÇ, »ó±â
A¾×Àº ½Ç¸®Ä«Á¹ ÀÚµ¿Á¦Á¶ÀåÄ¡¿¡ ÀÇÇØ ¹° 70¡85Áß·®ºÎ¿Í ±Ô»ê ¼Ò´Ù 3È£ 20¡45Áß·®ºÎ·Î Èñ¼®Çϰí, »êÀ¸·Î pH 0.8¡2·Î
Èñ¼® Á¦Á¶ÇÑ ºñ¾ËÄ®¸® ½Ç¸®Ä«Á¹¾×À¸·Î ±¸¼ºµÊÀ» Ư¡À¸·Î ÇÏ´Â ½Ç¸®Ä«Á¹ ÀÚµ¿Á¦Á¶ÀåÄ¡¸¦ ÀÌ¿ëÇÑ Áö¹Ý °¡¾ÐÁÖÀÔ º¸°¹æ¹ý.
û±¸Ç×
û±¸Ç× 1Ç×
±×¶ó¿ìÆ®Àç(10)¸¦ ±×¶ó¿ìÆÃ ÀåÄ¡¿¡ ÁÖÀÔÇÏ¿© Áö¹ÝÀ» °³·®ÇÏ´Â °ø¹ý¿¡ ÀÖ¾î¼, »ó±â ±×¶ó¿ìÆ®Àç(10)´Â ½Ç¸®Ä«Á¹
ÀÚµ¿Á¦Á¶ÀåÄ¡¿¡ ÀÇÇØ Á¦Á¶µÈ A¾×°ú ÇöŹ¾× ¶Ç´Â °ÖȹÝÀÀÁ¦·Î ÀÌ·ç¾îÁø B¾×À¸·Î ±¸¼ºÇϰí, »ó±â A¾×°ú B¾×À» °¢°¢ÀÇ °¡º¯ÆßÇÁ¸¦
ÀÌ¿ëÇÏ¿© Áö¹ÝÁ¶°Ç¿¡ ¾Ë¸ÂÀº ±×¶ó¿ìÆ®Àç(10) ·®À» Á¶Á¤ÇÏ¿©, ÀÌÁß°ü ·Îµå ¶Ç´Â º°µµÀÇ ÁÖÀÔÈ£½º°¡ ±¸ºñµÈ ±×¶ó¿ìÆÃ ÀåÄ¡¸¦ ÅëÇØ¼
ÁÖÀÔ¼±´ÜÀåÄ¡(A)¿¡¼ °¢°¢ ÁÖÀÔ ¶Ç´Â ¿À¸®Çǽº³ëÁñ(20)·Î ºÐ»çÈ¥ÇÕÇÏ¿© Áö¹Ý(G)À» °³·®ÇϵÇ, »ó±â A¾×Àº ½Ç¸®Ä«Á¹
ÀÚµ¿Á¦Á¶ÀåÄ¡¿¡ ÀÇÇØ ¹° 70¡85Áß·®ºÎ¿Í ±Ô»ê ¼Ò´Ù 3È£ 20¡45Áß·®ºÎ·Î Èñ¼®Çϰí, »êÀ¸·Î pH 0.8¡2·Î Èñ¼® Á¦Á¶ÇÑ
ºñ¾ËÄ®¸® ½Ç¸®Ä«Á¹¾×À¸·Î ±¸¼ºµÊÀ» Ư¡À¸·Î ÇÏ´Â ½Ç¸®Ä«Á¹ ÀÚµ¿Á¦Á¶ÀåÄ¡¸¦ ÀÌ¿ëÇÑ Áö¹Ý °¡¾ÐÁÖÀÔ º¸°¹æ¹ý.
û±¸Ç× 2Ç×
»èÁ¦
û±¸Ç× 3Ç×
Á¦ 1Ç׿¡ ÀÖ¾î¼, »ó±â B¾×Àº B1¾×, B2¾×, B3¾×À¸·Î ±¸¼ºµÇ°í, »ó±â B1¾×Àº 200L¿ë·®ºÎ³»¿¡ ½Ã¸àÆ®
60¡120Áß·®ºÎ¿Í, Áßź»ê¼Ò´Ù ¶Ç´Â ź»ê¼ö¼Ò³ªÆ®·ý 2¡4Áß·®ºÎ¿Í, ¿°ÈÄ®½· 1¡5Áß·®ºÎ ³ª¸ÓÁö ¹°·Î ÀÌ·ç¾îÁö¸ç, ±Þ°æÈÁ¦
Çöʾ×À¸·Î Ãʱⰵµ°¡ ÇÊ¿äÇÑ ÁöÇϼö À¯¼Ó¾ÐÀÌ ÀÖ´Â °÷¿¡ »ç¿ëÇϸç, »ó±â B2¾×Àº 200L¿ë·®ºÎ³»¿¡ ½Ã¸àÆ® 60¡120Áß·®ºÎ¿Í, Áßź»ê¼Ò´Ù ¶Ç´Â ź»ê¼ö¼Ò³ªÆ®·ý 2¡8Áß·®ºÎ ³ª¸ÓÁö ¹°·Î ÀÌ·ç¾îÁö¸ç, Áß°æÈÁ¦ Çöʾ×À¸·Î Àå±â°µµ°¡ ÇÊ¿äÇÑ Áö¹Ý¿¡ »ç¿ëÇϸç, »ó
±â B3¾×Àº 200L¿ë·®ºÎ³»¿¡ Áßź»ê¼Ò´Ù ¶Ç´Â ź»ê¼ö¼Ò³ªÆ®·ý 2¡10Áß·®ºÎ¿Í ź»êÄ®½· ¶Ç´Â ¼ö»êȸ¶±×³×½· 1¡20Áß·®ºÎ,
³ª¸ÓÁö ¹°·Î ÀÌ·ç¾îÁö¸ç, ¿ë¾× »óÀ¸·Î »çÁúÅä Áö¹Ý¿¡ »ç¿ëÇÔÀ» Ư¡À¸·Î ÇÏ´Â ½Ç¸®Ä«Á¹ ÀÚµ¿Á¦Á¶ÀåÄ¡¸¦ ÀÌ¿ëÇÑ Áö¹Ý °¡¾ÐÁÖÀÔ º¸°¹æ¹ý.
û±¸Ç× 4Ç×
Á¦ 1Ç׿¡ ÀÖ¾î¼, »ó±â A¾×°ú B¾×ÀÇ ºñÀ²Àº B¾×À» B1¾×À¸·Î Çϸç 1:1·Î ±¸¼ºÇϰųª, B¾×À» B2¾×À¸·Î Çϸç
1:1, 1:2, 1:3À¸·Î ±¸¼ºÇϰųª, B¾×À» B3¾×À¸·Î Çϸç 2:1, 1:1·Î ºñÀ² Á¶ÀýÇϰí, 1Â÷ ÁÖÀÔ¿¡¼ A¾×°ú B3¾×ÀÇ
È¥ÇÕ±×¶ó¿ìÆ®¸¦ ÁÖÀÔ ÈÄ 2Â÷ ÁÖÀÔÀ» A¾×°ú B1 ¶Ç´Â B2 È¥ÇÕ ±×¶ó¿ìÆ®¸¦ ¶Ç´Â 1Â÷ ÁÖÀÔÀ» A¾×°ú B1 ¶Ç´Â B2¸¦ 2Â÷
ÁÖÀÔÀ» A¾×°ú B3¾×À» Áö¹Ý¿¡ µû¶ó ¹Ýº¹ÁÖÀÔ º¯°æ ±¸¼ºÇÔÀ» Ư¡À¸·Î ÇÏ´Â ½Ç¸®Ä«Á¹ ÀÚµ¿Á¦Á¶ÀåÄ¡¸¦ ÀÌ¿ëÇÑ Áö¹Ý °¡¾ÐÁÖÀÔ º¸°¹æ¹ý.
¿ä¾à
º» ¹ß¸íÀº Áö¹Ýº¸°°ø¹ý¿¡¼ ¼Ò·®ÀÇ ±Ô»ê¼Ò´Ù¾çÀ» »ç¿ëÇÏ¿© Á¾·¡ÀÇ °ø¹ýº¸´Ù Ãʱⰵµ¿Í Àå±â°µµ ¹×
ħÅõ¼ºÀÌ ¿ì¼öÇÑ ±×¶ó¿ìÆ®À縦 Áö¹Ý¿¡ ÁÖÀÔ ½Ã°øÇÔÀ¸·Î½á, ½Ã°øÇ°ÁúÀÌ ¿ì¼öÇÏ°í °æÁ¦ÀûÀÎ ½Ã°øÀÌ °¡´ÉÇϰí ģȯ°æÀûÀÎ ½Ç¸®Ä«Á¹
ÀÚµ¿Á¦Á¶ÀåÄ¡¸¦ ÀÌ¿ëÇÑ Áö¹Ý °¡¾ÐÁÖÀÔ º¸°¹æ¹ýÀ» Á¦°øÇϴµ¥ ±× ¸ñÀûÀÌ ÀÖ´Ù. »ó±âÇÑ ¸ñÀûÀ» ´Þ¼ºÇϱâ À§ÇÑ º» ¹ß¸í¿¡ µû¸¥
½Ç¸®Ä«Á¹ ÀÚµ¿Á¦Á¶ÀåÄ¡¸¦ ÀÌ¿ëÇÑ Áö¹Ý °¡¾ÐÁÖÀÔ º¸°¹æ¹ýÀº ±×¶ó¿ìÆ®À縦 ±×¶ó¿ìÆÃ ÀåÄ¡¿¡ ÁÖÀÔÇÏ¿© Áö¹ÝÀ» °³·®ÇÏ´Â °ø¹ý¿¡ ÀÖ¾î¼, »ó±â
±×¶ó¿ìÆ®Àç´Â ½Ç¸®Ä«Á¹ ÀÚµ¿Á¦Á¶ÀåÄ¡¿¡ ÀÇÇØ Á¦Á¶µÈ A¾×°ú ÇöŹ¾× ¶Ç´Â °ÖȹÝÀÀÁ¦·Î ÀÌ·ç¾îÁø B¾×À¸·Î ±¸¼ºÇϰí, »ó±â A¾×°ú B¾×À»
°¢°¢ÀÇ °¡º¯ÆßÇÁ¸¦ ÀÌ¿ëÇÏ¿© Áö¹ÝÁ¶°Ç¿¡ ¾Ë¸ÂÀº ±×¶ó¿ìÆ®Àç ·®À» Á¶Á¤ÇÏ¿©, ÀÌÁß°ü ·Îµå ¶Ç´Â º°µµÀÇ ÁÖÀÔÈ£½º°¡ ±¸ºñµÈ ±×¶ó¿ìÆÃ
ÀåÄ¡¸¦ ÅëÇØ¼ ÁÖÀÔ¼±´ÜÀåÄ¡¿¡¼ °¢°¢ ÁÖÀÔ ¶Ç´Â ¿À¸®Çǽº³ëÁñ·Î ºÐ»çÈ¥ÇÕÇÏ¿© Áö¹ÝÀ» °³·®ÇÔÀ» Ư¡À¸·Î ÇÑ´Ù.
|